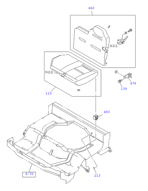
| 478 |
I8-98259 632-A |
|
BRACKET ASM; HINGE,PASSENGER SEAT |
1 |
1802- |
L |
TRAGA |
|
| 480 |
I8-94279 977-0 |
|
CLIP; CUSHION |
5 |
1802- |
|
TRAGA |
|
| 115 |
I8-98259 634-A |
|
CUSHION ASM; PASSENGER SEAT |
1 |
1802- |
|
TRAGA |
|
| 460 |
I8-98259 635-A |
|
BACK ASM; PASSENGER SEAT |
1 |
1802- |
|
TRAGA |
|
| 067 |
I8-94279 217-0 |
|
BOLT; FRT SEAT TO BODY |
1 |
1802- |
|
TRAGA |
M8X24.5 W/LK&PL WASHER |
| 478 |
I8-98259 627-A |
|
BRACKET ASM; HINGE,PASSENGER SEAT |
1 |
1802- |
R |
TRAGA |
|
| 139 |
I8-94279 217-0 |
|
BOLT; PASSENGER SEAT |
4 |
1802- |
|
TRAGA |
M8X24.5 W/LK&PL WASHER |
| 213 |
I1-76798 029-0 |
|
COVER; HOLE |
2 |
1802- |
|
TRAGA |
OD=2 5 BLACK |
| 069 |
I1-09984 126-0 |
|
NUT; FRT SEAT |
1 |
1802- |
|
TRAGA |
M8 |
| 627 |
I8-94127 883-1 |
|
WASHER; FRT SEAT |
1 |
1802- |
|
TRAGA |
(A) ID=8.4 OD=22 |
| 001 |
I8-98259 611-A |
|
SEAT COMPL; DRIVE |
1 |
1802- |
|
TRAGA |
BACK ASM + CHUSION ASM |