| 168 |
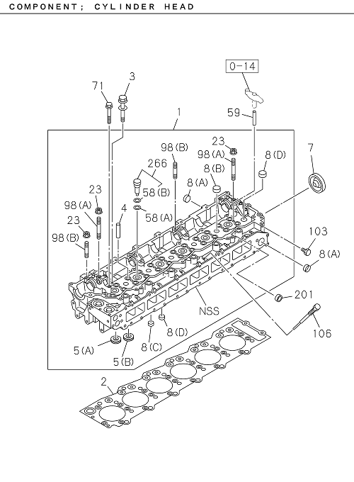
I8-98043 134-0 |
|
HANGER; ENG,FRT |
1 |
2203- |
|
FVM |
(B) |
| 008 |
I1-09600 012-2 |
|
CUP; SEALING,WATER JACKET |
7 |
2203- |
|
FVM |
(A) OD=32 |
| 008 |
I5-11129 006-0 |
|
CUP; SEALING,WATER JACKET |
7 |
2203- |
|
FVM |
(C) OD=16 |
| 008 |
I9-11129 128-0 |
|
CUP; SEALING,WATER JACKET |
11 |
2203- |
|
FVM |
(D) OD=20 |
| 003 |
I8-98260 005-0 |
|
BOLT; CYL HD TO BLOCK |
26 |
2203- |
|
FVM |
M14X115 FLANGE |
| 141 |
I8-97848 757-0 |
|
PLUG; RUBBER,CYL HD |
2 |
2203- |
|
FVM |
|
| 012 |
I8-98088 059-0 |
|
HANGER; ENG,RR |
1 |
2203- |
|
FVM |
|
| 120 |
I8-94399 555-0 |
|
BOLT; CYL HD TO HSG |
1 |
2203- |
|
FVM |
(B) M10X43 |
| 002 |
I8-97601 819-5 |
|
GASKET; CYL HD |
1 |
2203- |
|
FVM |
|
| 023 |
I0-91180 208-0 |
|
NUT; CAM BRKT |
8 |
2203- |
|
FVM |
M8 FLANGE |
| 141 |
I8-97848 757-0 |
|
PLUG; RUBBER,CYL HD |
2 |
2203- |
|
FVM |
|
| 106 |
I8-94392 236-1 |
|
PLUG; GLOW PLUG HOLE |
6 |
2203- |
|
FVM |
|
| 058 |
I8-97604 916-0 |
|
GASKET; SLEEVE,NOZZLE HOLDER |
6 |
2203- |
|
FVM |
(A) ID=26.4 |
| 005 |
I8-98028 874-0 |
|
SEAT; VLV INSERT |
12 |
2203- |
|
FVM |
(A) ID=32 OD=38 |
| 005 |
I8-98028 875-0 |
|
SEAT; VLV INSERT |
12 |
2203- |
|
FVM |
(B) ID=31 OD=38 |
| 004 |
I8-97376 719-2 |
|
GUIDE; VLV |
24 |
2203- |
|
FVM |
L=57 |
| 041 |
I0-28751 225-0 |
|
BOLT; ENG HANGER |
2 |
2203- |
|
FVM |
(C) M12X25 FLANGE |
| 002 |
I8-97601 819-5 |
|
GASKET; CYL HD |
1 |
2203- |
|
FVM |
|
| 138 |
I8-97606 929-0 |
|
GEAR; IDLE |
1 |
2203- |
|
FVM |
Z=41 |
| 139 |
I8-97186 398-1 |
|
SHAFT; IDLE GEAR |
1 |
2203- |
|
FVM |
|
| 098 |
I8-94322 513-2 |
|
STUD; CAM BRKT |
6 |
2203- |
|
FVM |
(B) M8X41 L=66 |
| 098 |
I8-94322 513-2 |
|
STUD; CAM BRKT |
6 |
2203- |
|
FVM |
(B) M8X41 L=66 |
| 014 |
I8-94397 286-0 |
|
STUD; EXH MANIF |
12 |
2203- |
|
FVM |
M10X60 L=75 |
| 008 |
I1-09600 016-0 |
|
CUP; SEALING,WATER JACKET |
6 |
2203- |
|
FVM |
(B) OD=25 |
| 139 |
I8-97186 398-1 |
|
SHAFT; IDLE GEAR |
1 |
2203- |
|
FVM |
|
| 098 |
I8-94322 512-2 |
|
STUD; CAM BRKT |
2 |
2203- |
|
FVM |
(A) M8X54 L=79 |
| 058 |
I8-97604 916-0 |
|
GASKET; SLEEVE,NOZZLE HOLDER |
6 |
2203- |
|
FVM |
(A) ID=26.4 |
| 106 |
I8-94392 236-0 |
|
PLUG; GLOW PLUG HOLE |
6 |
2203- |
|
FVM |
|
| 058 |
I8-98004 187-0 |
|
GASKET; SLEEVE,NOZZLE HOLDER |
6 |
2203- |
|
FVM |
(B) ID=26.2 |
| 041 |
I0-28751 225-0 |
|
BOLT; ENG HANGER |
2 |
2203- |
|
FVM |
(C) M12X25 FLANGE |
| 001 |
I8-98243 823-0 |
|
HEAD ASM; CYL |
1 |
2203- |
|
FVM |
|
| 106 |
I8-94392 236-1 |
|
PLUG; GLOW PLUG HOLE |
6 |
2203- |
|
FVM |
|
| 058 |
I8-98004 187-0 |
|
GASKET; SLEEVE,NOZZLE HOLDER |
6 |
2203- |
|
FVM |
(B) ID=26.2 |
| 005 |
I8-98028 875-0 |
|
SEAT; VLV INSERT |
12 |
2203- |
|
FVM |
(B) ID=31 OD=38 |
| 120 |
I8-94399 555-0 |
|
BOLT; CYL HD TO HSG |
1 |
2203- |
|
FVM |
(B) M10X43 |
| 005 |
I8-98028 874-0 |
|
SEAT; VLV INSERT |
12 |
2203- |
|
FVM |
(A) ID=32 OD=38 |
| 120 |
I8-94399 554-0 |
|
BOLT; CYL HD TO HSG |
1 |
2203- |
|
FVM |
(A) M10X73 |
| 266 |
I8-98018 462-0 |
|
SLEEVE ASM; NOZZLE HOLDER |
6 |
2203- |
|
FVM |
|
| 201 |
I1-09639 034-0 |
|
GASKET; SLEEVE,INJ PUMP |
6 |
2203- |
|
FVM |
OD=30 |
| 266 |
I8-98018 462-0 |
|
SLEEVE ASM; NOZZLE HOLDER |
6 |
2203- |
|
FVM |
|
| 120 |
I8-94399 554-0 |
|
BOLT; CYL HD TO HSG |
1 |
2203- |
|
FVM |
(A) M10X73 |
| 201 |
I1-09639 034-0 |
|
GASKET; SLEEVE,INJ PUMP |
6 |
2203- |
|
FVM |
OD=30 |
| 014 |
I8-94397 286-0 |
|
STUD; EXH MANIF |
12 |
2203- |
|
FVM |
M10X60 L=75 |
| 007 |
I8-97096 826-A |
|
CUP; SEALING,CYL HEAD |
1 |
2203- |
|
FVM |
OD=51 |
| 168 |
I8-94394 398-1 |
|
HANGER; ENG,FRT |
1 |
2203- |
|
FVM |
(A) |
| 168 |
I8-98043 134-0 |
|
HANGER; ENG,FRT |
1 |
2203- |
|
FVM |
(B) |
| 012 |
I8-98088 059-0 |
|
HANGER; ENG,RR |
1 |
2203- |
|
FVM |
|
| 001 |
I8-98243 823-0 |
|
HEAD ASM; CYL |
1 |
2203- |
|
FVM |
|
| 059 |
I8-97381 603-1 |
|
GUIDE; BRIDGE |
12 |
2203- |
|
FVM |
|
| 138 |
I8-97606 929-0 |
|
GEAR; IDLE |
1 |
2203- |
|
FVM |
Z=41 |
| 041 |
I0-28751 025-0 |
|
BOLT; ENG HANGER |
2 |
2203- |
|
FVM |
(B) M10X25 FLANGE |
| 041 |
I0-28151 020-0 |
|
BOLT; ENG HANGER |
3 |
2203- |
|
FVM |
(A) M10X20 FLANGE |
| 071 |
I0-28050 835-0 |
|
BOLT; CAM BRKT |
2 |
2203- |
|
FVM |
M8X35 FLANGE |
| 007 |
I8-97096 826-A |
|
CUP; SEALING,CYL HEAD |
1 |
2203- |
|
FVM |
OD=51 |
| 098 |
I8-94322 512-2 |
|
STUD; CAM BRKT |
2 |
2203- |
|
FVM |
(A) M8X54 L=79 |
| 103 |
I8-98003 416-0 |
|
PLUG; HD |
1 |
2203- |
|
FVM |
M8X10 |
| 008 |
I1-09600 012-2 |
|
CUP; SEALING,WATER JACKET |
7 |
2203- |
|
FVM |
(A) OD=32 |
| 003 |
I8-98260 005-0 |
|
BOLT; CYL HD TO BLOCK |
26 |
2203- |
|
FVM |
M14X115 FLANGE |
| 004 |
I8-97376 719-2 |
|
GUIDE; VLV |
24 |
2203- |
|
FVM |
L=57 |
| 008 |
I5-11129 006-0 |
|
CUP; SEALING,WATER JACKET |
7 |
2203- |
|
FVM |
(C) OD=16 |
| 059 |
I8-97381 603-1 |
|
GUIDE; BRIDGE |
12 |
2203- |
|
FVM |
|
| 168 |
I8-94394 398-1 |
|
HANGER; ENG,FRT |
1 |
2203- |
|
FVM |
(A) |