8-01 | LAMP; FRONT AND FRONT SIDE



GIGA E4
GIGA GXZ E4
Key | PART NO | ITC | DESCRIPTION | QTY | APP DATE | LR | MODEL | REMARKS |
---|---|---|---|---|---|---|---|---|
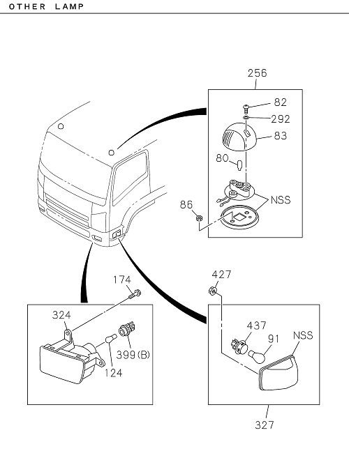
292 | I1-82219 012-0 | WASHER; MARKER LAMP | 4 | 2203- | GXZ | |||
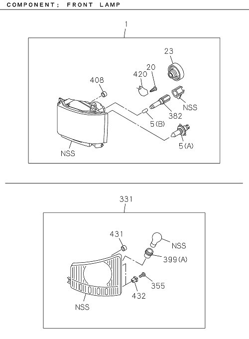
432 | I8-98051 431-0 | FASTENER; TURN SIGNAL,LAMP | 4 | 2203- | GXZ | |||
399 | I8-98051 387-0 | SOCKET; TURN SIGNAL | 2 | 2203- | GXZ | (A) | ||
427 | I0-91180 106-0 | NUT; TURN SIGNAL LAMP | 4 | 2203- | GXZ | M6 FLANGE | ||
382 | I8-98012 788-0 | PLUG; SOCKET,HEADLAMP | 2 | 2203- | GXZ | |||
431 | I8-97378 874-0 | CAP; TURN SIGNAL,LAMP | 2 | 2203- | GXZ | |||
420 | I8-98218 601-0 | SPRING; BULB,HEADLAMP | 2 | 2203- | GXZ | |||
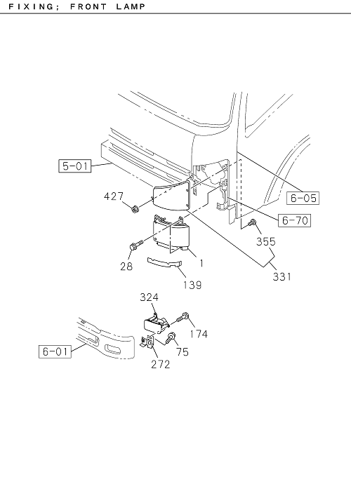
028 | I8-98164 723-0 | BOLT; HEADLAMP | 8 | 2203- | GXZ | M6X23.5 W/LK&PL WASHER | ||
324 | I1-82210 259-A | LAMP; FRT FLASHER | 1 | 2203- | R | GXZ | ||
256 | I8-97497 846-0 | LAMP; MARKER | 1 | 2203- | R | GXZ | ||
331 | I8-98181 878-A | LAMP; TURN SIGNAL | 1 | 2203- | R | GXZ | ||
020 | I8-97378 871-0 | SCREW; HEADLAMP | 2 | 2203- | GXZ | |||
001 | I8-98241 326-A | LAMP ASM; HEAD | 1 | 2203- | L | GXZ | ||
420 | I8-98218 601-0 | SPRING; BULB,HEADLAMP | 2 | 2203- | GXZ | |||
075 | I0-28050 612-0 | SCREW; FRT COMB LAMP | 2 | 2203- | GXZ | M6X12 FLANGE | ||
256 | I8-97497 846-0 | LAMP; MARKER | 1 | 2203- | R | GXZ | ||
331 | I8-98181 879-A | LAMP; TURN SIGNAL | 1 | 2203- | L | GXZ | ||
256 | I8-98097 467-3 | LAMP; MARKER | 1 | 2203- | L | GXZ | ||
124 | I1-82194 105-0 | BULB; FRT TURN SIGNAL | 2 | 2203- | GXZ | 24V 21W | ||
327 | I8-97410 181-A | LAMP ASM; SIDE TURN SIGNAL | 1 | 2203- | L | GXZ | ||
091 | I8-98051 495-0 | BULB; SIDE TURN SIGNAL | 2 | 2203- | GXZ | 24V 21W AMBER | ||
023 | I8-97232 491-0 | COVER; BULB,HEADLAMP | 2 | 2203- | GXZ | |||
427 | I0-91180 106-0 | NUT; TURN SIGNAL LAMP | 4 | 2203- | GXZ | M6 FLANGE | ||
272 | I8-98178 033-A | BRACKET; FRT COMB LAMP | 1 | 2203- | R | GXZ | ||
080 | I8-94135 397-0 | BULB; MARKER LAMP | 2 | 2203- | GXZ | 24V 5W | ||
005 | I8-98355 281-0 | BULB; HEADLAMP | 2 | 2203- | GXZ | (A) 24V 75/70W | ||
174 | I8-97360 226-0 | BOLT | 4 | 2203- | GXZ | M6X19.5 W/LK&PL WASHER | ||
324 | I1-82210 260-A | LAMP; FRT FLASHER | 1 | 2203- | L | GXZ | ||
139 | I8-98054 342-0 | COVER; HEADLAMP | 2 | 2203- | GXZ | |||
082 | I1-82219 011-0 | SCREW; MARKER LAMP | 4 | 2203- | GXZ | |||
399 | I1-82219 038-0 | SOCKET; TURN SIGNAL | 2 | 2203- | GXZ | (B) | ||
327 | I8-97410 180-A | LAMP ASM; SIDE TURN SIGNAL | 1 | 2203- | R | GXZ | ||
023 | I8-97232 491-0 | COVER; BULB,HEADLAMP | 2 | 2203- | GXZ | |||
355 | I8-98051 428-0 | SCREW; TURN SIGNAL | 4 | 2203- | GXZ | |||
086 | I0-91180 106-0 | NUT; MARKER LAMP | 4 | 2203- | GXZ | M6 FLANGE | ||
432 | I8-98051 431-0 | FASTENER; TURN SIGNAL,LAMP | 4 | 2203- | GXZ | |||
124 | I1-82194 105-0 | BULB; FRT TURN SIGNAL | 2 | 2203- | GXZ | 24V 21W | ||
020 | I8-97378 871-0 | SCREW; HEADLAMP | 2 | 2203- | GXZ | |||
082 | I1-82219 011-0 | SCREW; MARKER LAMP | 4 | 2203- | GXZ | |||
331 | I8-98181 878-A | LAMP; TURN SIGNAL | 1 | 2203- | R | GXZ | ||
256 | I8-98097 467-3 | LAMP; MARKER | 1 | 2203- | L | GXZ | ||
399 | I1-82219 038-0 | SOCKET; TURN SIGNAL | 2 | 2203- | GXZ | (B) | ||
437 | I8-98051 390-0 | SOCKET; SIDE,TURN | 2 | 2203- | GXZ | |||
292 | I1-82219 012-0 | WASHER; MARKER LAMP | 4 | 2203- | GXZ | |||
382 | I8-98012 788-0 | PLUG; SOCKET,HEADLAMP | 2 | 2203- | GXZ | |||
324 | I1-82210 260-A | LAMP; FRT FLASHER | 1 | 2203- | L | GXZ | ||
005 | I8-98355 281-0 | BULB; HEADLAMP | 2 | 2203- | GXZ | (A) 24V 75/70W | ||
174 | I8-97360 226-0 | BOLT | 4 | 2203- | GXZ | M6X19.5 W/LK&PL WASHER | ||
355 | I8-98051 428-0 | SCREW; TURN SIGNAL | 4 | 2203- | GXZ | |||
331 | I8-98181 879-A | LAMP; TURN SIGNAL | 1 | 2203- | L | GXZ | ||
086 | I0-91180 106-0 | NUT; MARKER LAMP | 4 | 2203- | GXZ | M6 FLANGE | ||
437 | I8-98051 390-0 | SOCKET; SIDE,TURN | 2 | 2203- | GXZ | |||
083 | I8-98057 958-0 | LENS; MARKER LAMP | 2 | 2203- | GXZ | |||
399 | I8-98051 387-0 | SOCKET; TURN SIGNAL | 2 | 2203- | GXZ | (A) | ||
431 | I8-97378 874-0 | CAP; TURN SIGNAL,LAMP | 2 | 2203- | GXZ | |||
091 | I8-98051 495-0 | BULB; SIDE TURN SIGNAL | 2 | 2203- | GXZ | 24V 21W AMBER | ||
139 | I8-98054 342-0 | COVER; HEADLAMP | 2 | 2203- | GXZ | |||
001 | I8-98241 325-A | LAMP ASM; HEAD | 1 | 2203- | R | GXZ | ||
408 | I8-97378 874-0 | CAP; BREATHER,HEADLAMP | 2 | 2203- | GXZ | |||
005 | I1-82194 042-0 | BULB; HEADLAMP | 2 | 2203- | GXZ | (B) 24V 5W | ||
080 | I8-94135 397-0 | BULB; MARKER LAMP | 2 | 2203- | GXZ | 24V 5W | ||
408 | I8-97378 874-0 | CAP; BREATHER,HEADLAMP | 2 | 2203- | GXZ | |||
001 | I8-98241 325-A | LAMP ASM; HEAD | 1 | 2203- | R | GXZ | ||
001 | I8-98241 326-A | LAMP ASM; HEAD | 1 | 2203- | L | GXZ | ||
272 | I8-98178 033-A | BRACKET; FRT COMB LAMP | 1 | 2203- | R | GXZ | ||
327 | I8-97410 181-A | LAMP ASM; SIDE TURN SIGNAL | 1 | 2203- | L | GXZ | ||
272 | I8-98178 034-A | BRACKET; FRT COMB LAMP | 1 | 2203- | L | GXZ | ||
075 | I0-28050 612-0 | SCREW; FRT COMB LAMP | 2 | 2203- | GXZ | M6X12 FLANGE | ||
327 | I8-97410 180-A | LAMP ASM; SIDE TURN SIGNAL | 1 | 2203- | R | GXZ | ||
005 | I1-82194 042-0 | BULB; HEADLAMP | 2 | 2203- | GXZ | (B) 24V 5W | ||
028 | I8-98164 723-0 | BOLT; HEADLAMP | 8 | 2203- | GXZ | M6X23.5 W/LK&PL WASHER | ||
324 | I1-82210 259-A | LAMP; FRT FLASHER | 1 | 2203- | R | GXZ | ||
083 | I8-98057 958-0 | LENS; MARKER LAMP | 2 | 2203- | GXZ | |||
272 | I8-98178 034-A | BRACKET; FRT COMB LAMP | 1 | 2203- | L | GXZ |