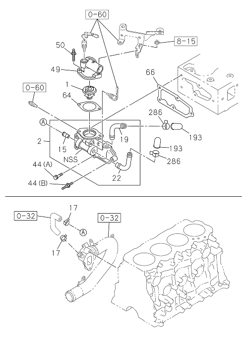
0-31 | TERMOSTAT AND HOUSING

TRAGA
TRAGA E4
Key | PART NO | ITC | DESCRIPTION | QTY | APP DATE | LR | MODEL | REMARKS |
---|---|---|---|---|---|---|---|---|
050 | I8-98028 225-0 | BOLT; OUTLET PIPE | 2 | 2204- | TRAGA | M8X12,M8X30 L=50 | ||
001 | I8-97361 770-0 | THERMOSTAT | 1 | 2204- | TRAGA | 82 CELSIUS | ||
019 | I8-94478 870-1 | PIPE; HSG TO HTR | 1 | 2204- | TRAGA | |||
044 | I0-50540 830-0 | BOLT; HSG TO HD | 4 | 2204- | TRAGA | (A) M8X30 W/LK WASHER | ||
066 | I8-97216 156-0 | GASKET; THERMOSTAT HSG | 1 | 2204- | TRAGA | |||
044 | I8-94479 011-1 | BOLT; HSG TO HD | 1 | 2204- | TRAGA | (B) M8X28,M8X34 L=69 | ||
017 | I8-94125 862-1 | CLIP; WATER HOSE | 2 | 2204- | TRAGA | ID=20.8 | ||
193 | I8-94414 688-0 | CAP; RUBBER | 1 | 2204- | TRAGA | |||
022 | I8-94478 869-2 | PIPE; HTR,RETURN | 1 | 2204- | TRAGA | |||
015 | I8-94343 211-1 | PIPE; BYPASS | 1 | 2204- | TRAGA | |||
002 | I8-97372 994-1 | HOUSING; THERMOSTAT | 1 | 2204- | TRAGA | |||
286 | I8-97359 141-0 | CLIP; HOSE | 1 | 2204- | TRAGA | ID=22 | ||
064 | I8-94365 674-2 | GASKET; OUTLET PIPE TO HSG | 1 | 2204- | TRAGA | |||
049 | I8-98248 711-A | PIPE; WATER OUTLET | 1 | 2204- | TRAGA |