0-36 | TURBOCHARGER SYSTEM



TRAGA
TRAGA E4
Key | PART NO | ITC | DESCRIPTION | QTY | APP DATE | LR | MODEL | REMARKS |
---|---|---|---|---|---|---|---|---|
118 | I8-98202 540-0 | CLIP; WATER HOSE | 2 | 2204- | TRAGA | (A) ID=26.2 | ||
321 | I0-91614 710-0 | WASHER; LK,BRKT | 2 | 2204- | TRAGA | ID=10.5 OD=26 | ||
066 | I0-44011 025-0 | STUD; EXH PIPE | 2 | 2204- | TRAGA | M10X25 L=40 | ||
485 | I8-97545 185-0 | PIPE; WATER EGR | 1 | 2204- | TRAGA | (A) | ||
002 | I8-97315 266-0 | GASKET; TURBOCHARGER TO EXH MANIF | 1 | 2204- | TRAGA | |||
217 | I0-28051 020-0 | BOLT; BRKT | 7 | 2204- | TRAGA | (A) M10X20 FLANGE | ||
485 | I8-97545 188-0 | PIPE; WATER EGR | 1 | 2204- | TRAGA | (B) | ||
217 | I0-28051 025-0 | BOLT; BRKT | 2 | 2204- | TRAGA | (B) M10X25 FLANGE | ||
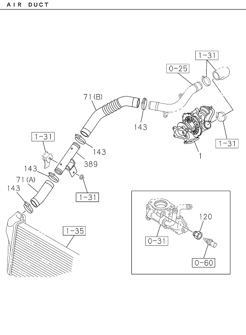
143 | I8-97835 077-0 | CLIP; HOSE,TURBOCHARGER OUTLET | 4 | 2204- | TRAGA | ID=40-55 | ||
380 | I8-97545 184-A | HOSE; RUBBER,PIPE TO PIPE | 1 | 2204- | TRAGA | |||
488 | I8-97545 186-A | HOSE; RUBBER | 1 | 2204- | TRAGA | |||
011 | I8-97161 607-0 | NUT; TURBOCHARGER | 4 | 2204- | TRAGA | M8 FLANGE | ||
217 | I0-28051 050-0 | BOLT; BRKT | 1 | 2204- | TRAGA | (D) M10X50 FLANGE | ||
120 | I8-97524 435-0 | ADAPTER; WATER | 1 | 2204- | TRAGA | |||
012 | I8-97378 060-0 | STUD; TURBOCHARGER | 4 | 2204- | TRAGA | M8X20 L=31 | ||
071 | I8-97536 856-A | HOSE; INLET PIPE TO TURBOCHARGER | 1 | 2204- | TRAGA | (B) | ||
118 | I8-94175 939-0 | CLIP; WATER HOSE | 4 | 2204- | TRAGA | (B) ID=15-27 | ||
460 | I8-97581 233-0 | NUT; PIPE | 1 | 2204- | TRAGA | M8 FLANGE | ||
101 | I0-28050 816-0 | BOLT; HEAT PROTECTOR | 4 | 2204- | TRAGA | M8X16 FLANGE | ||
001 | I8-98268 220-0 | TURBOCHARGER ASM | 1 | 2204- | TRAGA | |||
071 | I8-97517 015-A | HOSE; INLET PIPE TO TURBOCHARGER | 1 | 2204- | TRAGA | (A) | ||
486 | I8-97264 168-0 | GASKET; WATER PIPE | 1 | 2204- | TRAGA | |||
217 | I0-28050 845-0 | BOLT; BRKT | 1 | 2204- | TRAGA | (C) M8X45 FLANGE | ||
389 | I8-97536 855-A | PIPE; INL,TURBOCHARGER TO CAC | 1 | 2204- | TRAGA | |||
116 | I0-28050 812-A | BOLT; WATER PIPE | 3 | 2204- | TRAGA | M8X12 FLANGE | ||
414 | I5-15419 036-0 | SPACER | 2 | 2204- | TRAGA | ID=9 OD=16 L=40 |