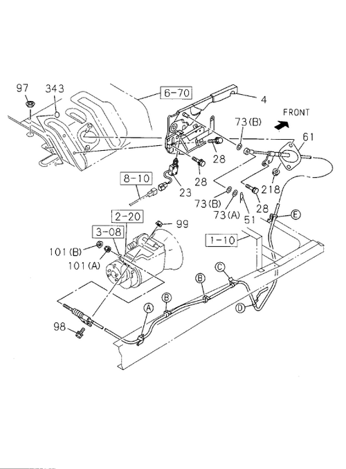
3-11 | PARKING BRAKE CONTROL


GIGA
GIGA FVM
Key | PART NO | ITC | DESCRIPTION | QTY | APP DATE | LR | MODEL | REMARKS |
---|---|---|---|---|---|---|---|---|
61 | I8-98173 502-A | CABLE; PARKING BRK | 1 | 1108- | A | |||
99 | I7-05110 010-A | C | NUT; CONT CABLE | 2 | 1108- | A | ||
237 | I7-05110 010-A | C | NUT; BRKT TO FRAME | 1 | 1108- | A | ||
343 | I1-76798 029-0 | SEAL | 4 | 1108- | A | |||
235 | I8-98111 492-0 | BRACKET; CONT CABLE TO FRAME | 1 | 1108- | A | |||
228 | I8-98051 939-0 | BOLT; CLIP RAD MTG | 1 | 1310- | A | ZF9S1110 DD M/T(Y5P) M8X16 W/LK&PL WASHER | ||
324 | I8-98067 482-1 | BRACKET | 1 | 1108- | A | |||
228 | I8-98051 939-0 | BOLT; CLIP RAD MTG | 2 | 1108- | A | |||
61 | I8-98173 502-A | CABLE; PARKING BRK,FVM | 1 | 1108-1401 | A | MZW6P M/T, L=4615 | ||
73 | I0-91610 516-0 | WASHER; PL,CABLE | 1 | 1108- | A | |||
23 | I1-82440 100-0 | SWITCH; PARKING BRK | 1 | 1108- | A | |||
235 | I8-98126 934-0 | BRACKET; CONT CABLE TO FRAME | 1 | 1310- | A | 6HK1-TCS ENG(8 0L) | ||
227 | I1-09700 944-0 | C | CLIP; RAD | 1 | 1108- | A | ||
336 | I8-98044 680-0 | BRACKET; RADIATOR | 1 | 1108- | A | |||
98 | I0-28651 030-0 | BOLT; RR COVER | 2 | 1108- | A | |||
28 | I8-98059 720-0 | BOLT; HAND BRK LEVER | 4 | 1108- | A | |||
99 | I7-05110 010-A | NUT; CONT CABLE | 2 | 1108- | A | |||
46 | I0-95235 535-0 | CLIP; FRT CABLE TO FLOOR | 1 | 1108- | A | |||
343 | I1-76798 029-0 | C | SEAL | 4 | 1108- | A | ||
227 | I5-09709 020-0 | CLIP; RAD | 2 | 1310- | A | ZF9S1110 DD M/T(Y5P) ID=9.5 | ||
101 | I1-46259 007-0 | NUT; CABLE TO LEVER | 1 | 1108- | A | |||
61 | I8-98184 206-A | CABLE; PARKING BRK | 1 | 1310- | A | ZF9S1110 DD M/T(Y5P) L=5046 | ||
61 | I8-98184 206-A | A | CABLE; PARKING BRK | 1 | 1310- | A | ZF9S1110 DD M/T(Y5P) L=5046 | |
101 | I0-91180 108-0 | NUT; CABLE TO LEVER | 1 | 1108- | A | |||
97 | I8-94122 971-0 | GROMMET; PARKING BRK CABLE | 1 | 1108- | A | |||
227 | I1-09701 014-0 | CLIP; RAD | 1 | 1108- | A | |||
307 | I0-51640 825-0 | BOLT; BRKT,PARKING BRK CABLE | 1 | 1108- | A | |||
227 | I5-09709 020-0 | CLIP; RAD | 1 | 1108- | A | |||
51 | I1-09987 243-1 | PIN; JOINT,RELAY LEVER | 1 | 1108- | A | |||
235 | I8-98126 426-0 | BRACKET; CONT CABLE TO FRAME | 1 | 1108- | A | |||
236 | I0-28651 035-0 | BOLT; BRKT TO FRAME | 1 | 1108- | A | |||
228 | I8-98051 939-0 | C | BOLT; CLIP RAD MTG | 2 | 1108- | A | ||
227 | I0-95235 235-0 | CLIP; RAD | 2 | 1108- | A | |||
351 | I0-51640 825-0 | BOLT; CLIP | 3 | 1108- | A | |||
228 | I0-28650 825-0 | BOLT; CLIP RAD MTG | 2 | 1108- | A | |||
218 | I0-91180 108-0 | NUT; BRKT,PARKING BRK CABLE | 2 | 1108- | A | |||
228 | I0-28050 816-0 | BOLT; CLIP RAD MTG | 1 | 1108- | A | |||
73 | I8-94206 429-1 | WASHER; PL,CABLE | 2 | 1108- | A | |||
4 | I8-98173 353-0 | STEM; PARKING BRK | 1 | 1108- | A | |||
227 | I1-09700 944-0 | CLIP; RAD | 1 | 1108- | A | |||
413 | I8-98356 021-0 | JOINT; PARK BRK CABLE | 1 | 2002- | ALL | |||
237 | I7-05110 010-A | NUT; BRKT TO FRAME | 1 | 1108- | A | |||
87 | I0-91180 108-0 | NUT | 2 | 1108- | A | |||
236 | I0-28650 825-0 | BOLT; BRKT TO FRAME | 1 | 1108- | A | |||
235 | I8-98100 152-0 | BRACKET; CONT CABLE TO FRAME | 1 | 1310- | A | 6HK1-TCS ENG(8 0L) |