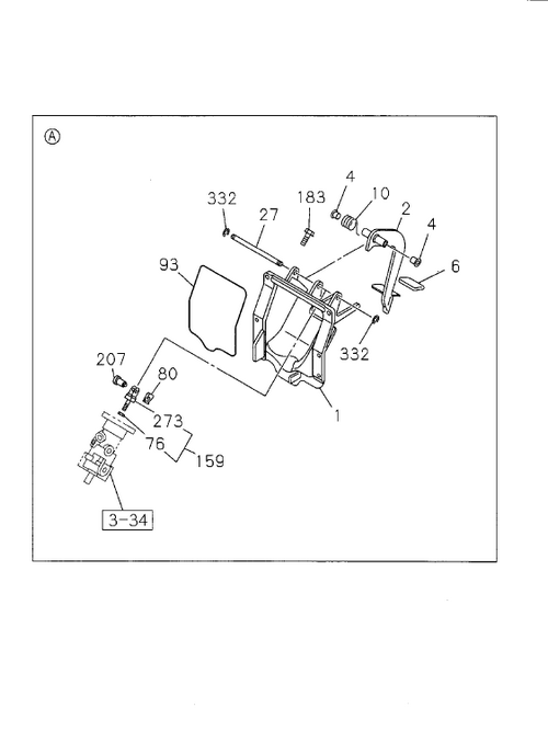
3-10 | BRAKE PEDAL AND CONTROL


GIGA
GIGA FVZ
Key | PART NO | ITC | DESCRIPTION | QTY | APP DATE | LR | MODEL | REMARKS |
---|---|---|---|---|---|---|---|---|
016 | I8-98010 857-0 | SWITCH; STOP LAMP | 1 | 1104- | ALL | STAMP 0.3 | ||
027 | I8-98057 231-0 | SHAFT; BRK PEDAL | 1 | 1104- | ALL | |||
207 | I8-98147 657-0 | PIN; JOINT,BRK PEDAL LINK | 1 | 1104- | ALL | |||
080 | I8-98007 161-0 | PIN; SNAP,BRK PEDAL | 1 | 1104- | ALL | |||
159 | I8-98057 234-0 | ROD ASM; PUSH,BRK | 1 | 1104- | ALL | |||
007 | I1-09660 965-0 | CONNECTOR; BRK VALVE | 2 | 1104- | ALL | (C) DIN12 & R3/8 STRAIGHT | ||
185 | I8-98057 109-0 | BOLT; BRKT | 7 | 1104-1506 | ALL | M8X25 HEXALOBULAR | ||
183 | I0-28660 830-0 | BOLT; BRK VLV | 4 | 1104- | ALL | M8X30 FLANGE | ||
335 | I8-98025 921-0 | CLAMP; HOSE | 1 | 1104- | ALL | (A) ID=24 | ||
010 | I8-98367 967-0 | SPRING; RETURN,BRK PEDAL | 1 | 1104- | ALL | |||
334 | I8-97611 145-A | HOSE; AIR,BRK | 1 | 1104- | ALL | (A) | ||
334 | I8-98251 374-0 | HOSE; AIR,BRK | 1 | 1404- | GVZ | (B) | ||
076 | I0-91180 108-0 | NUT; PUSH ROD | 1 | 1104- | ALL | M8 FLANGE | ||
004 | I8-94238 596-0 | BUSHING; BRK PEDAL | 2 | 1104- | ALL | |||
001 | I8-98071 972-1 | BRACKET ASM; PEDAL | 1 | 1104- | ALL | |||
006 | I8-98056 865-0 | COVER; BRK PEDAL | 1 | 1104- | ALL | |||
098 | I0-91180 208-0 | NUT; BRKT | 1 | 1104- | ALL | M8 FLANGE | ||
002 | I8-98057 226-0 | PEDAL; BRK | 1 | 1104- | ALL | |||
332 | I0-91805 512-0 | RING; SNAP | 2 | 1104- | ALL | ID=12 | ||
093 | I1-48199 534-0 | SEAL; BRK PEDAL | 1 | 1104- | ALL | |||
007 | I1-09661 303-0 | CONNECTOR; BRK VALVE | 1 | 1104- | ALL | (A) PT3/8 & PT3/8 ELBOW | ||
007 | I1-09660 693-0 | CONNECTOR; BRK VALVE | 1 | 1104- | ALL | (D) PT1/4 & PT1/4 2WAY | ||
185 | I8-98316 699-0 | BOLT; BRKT | 7 | 1507- | ALL | M8X25 HEXALOBULAR | ||
273 | I8-98057 233-0 | ROD; PULL | 1 | 1104- | ALL | |||
187 | I8-98316 762-0 | WASHER; PL,BRKT | 4 | 1507- | ALL | ID=8.4 OD=26 | ||
187 | I0-91614 808-0 | WASHER; PL,BRKT | 4 | 1104-1506 | ALL | ID=8.4 OD=26 | ||
335 | I1-09704 102-0 | CLAMP; HOSE | 1 | 1404- | GVZ | (B) ID=14 | ||
007 | I1-09660 959-0 | CONNECTOR; BRK VALVE | 2 | 1104- | ALL | (B) DIN12 & R3/8 ELBOW |