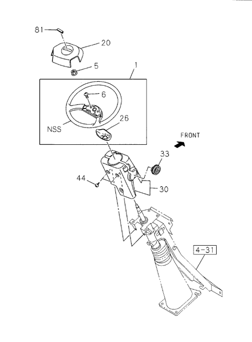
4-30 | STEERING WHEEL AND COWL

GIGA
GIGA FVZ
Key | PART NO | ITC | DESCRIPTION | QTY | APP DATE | LR | MODEL | REMARKS |
---|---|---|---|---|---|---|---|---|
001 | I8-97466 633-2 | WHEEL; STRG | 1 | 2003- | ALL | |||
033 | I8-97409 495-0 | COVER; STRG COWL | 1 | 1104- | ALL | |||
020 | I8-97466 634-1 | SHROUD; PAD,STRG WHEEL | 1 | 2003- | ALL | |||
005 | I0-91111 514-0 | NUT; STRG WHEEL TO SHAFT | 1 | 1104- | ALL | M14 | ||
044 | I0-38050 512-0 | SCREW; STRG COWL | 3 | 1104- | ALL | M5X12 | ||
106 | I8-98231 397-0 | BOLT; TORX | 2 | 1104- | ALL | M6X14 | ||
030 | I8-97405 356-5 | COWL; STEERING | 1 | 1104- | ALL | |||
020 | I8-97405 985-1 | SHROUD; PAD,STRG WHEEL | 1 | 1104-2002 | ALL | |||
026 | I8-97409 275-2 | COVER; STRG WHEEL,LWR | 1 | 1104- | ALL | |||
001 | I8-97412 555-1 | WHEEL; STRG | 1 | 1104-2002 | ALL | |||
006 | I8-97167 588-0 | SCREW; HORN SPR CONTACT | 4 | 1104- | ALL | M4X12 | ||
081 | I8-97405 986-0 | EMBLEM; STRG WHEEL | 1 | 1104- | ALL | |||
030 | I8-97925 101-0 | COWL; STEERING | 1 | 1312-1403 | ALL |