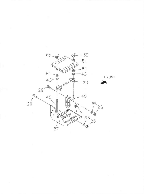
5-20 | BATTERY CARRIER

GIGA
GIGA FVZ
Key | PART NO | ITC | DESCRIPTION | QTY | APP DATE | LR | MODEL | REMARKS |
---|---|---|---|---|---|---|---|---|
081 | I0-91180 108-0 | NUT; BATTERY | 2 | 1104- | ALL | M8 FLANGE | ||
045 | I9-53616 615-A | ROD; TENSION,BATTERY | 2 | 1104- | ALL | L=120 | ||
026 | I7-05110 010-A | NUT; BRKT | 4 | 1104- | ALL | M10 FLANGE | ||
035 | I0-91614 610-0 | WASHER; PL,BATTERY CARRIER | 4 | 1104- | ALL | ID=10.5 OD=22 | ||
037 | I8-97695 343-A | BRACKET; BATTERY | 1 | 1104- | ALL | |||
051 | I8-97120 747-A | COVER; BATTERY | 1 | 1104- | ALL | |||
052 | I0-91118 408-0 | NUT; WING,COVER FIX | 2 | 1104- | ALL | M8 WING NUT | ||
029 | I0-28651 035-0 | BOLT; BRKT TO FRAME | 4 | 1104- | ALL | M10X35 FLANGE | ||
030 | I5-53615 004-B | PLATE; BATTERY | 1 | 1210-1210 | ALL | |||
037 | I8-97384 068-2 | BRACKET; BATTERY | 1 | 1104- | ALL | |||
043 | I0-91614 708-0 | WASHER; PL,CLAMP | 2 | 1104- | ALL | ID=8.4 OD=22 T=2 |