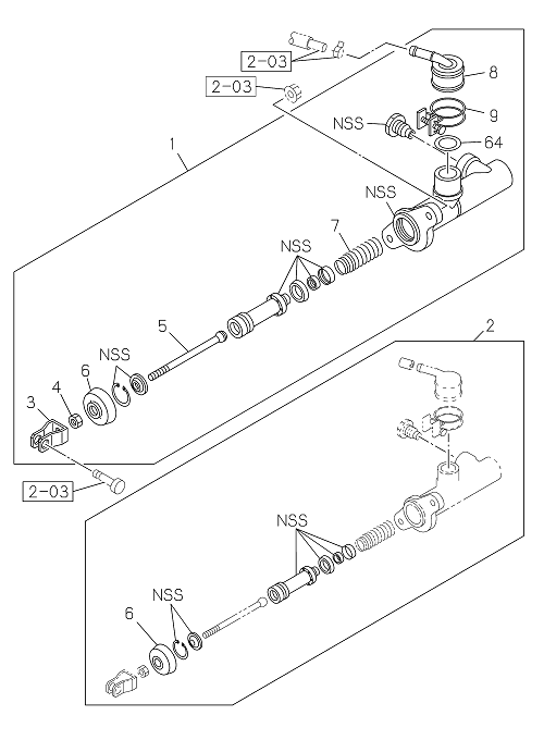
2-08 | CLUTCH MASTER CYLINDER

ELF
NPS81 NQR81 E4
Key | PART NO | ITC | DESCRIPTION | QTY | APP DATE | LR | MODEL | REMARKS |
---|---|---|---|---|---|---|---|---|
002 | I5-87832 226-0 | REPAIR KIT; CLU M/CYL | 1 | 2204- | ALL | |||
009 | I8-97167 773-0 | CLAMP; PIPE CONNECTOR,CLU M/CYL | 1 | 2204- | ALL | |||
003 | I8-97167 770-0 | JOINT; JAW,CLU M/CYL | 1 | 2204- | ALL | |||
004 | I0-91111 508-A | NUT; JAW JOINT | 1 | 2204- | ALL | M8 | ||
002 | I6-87832 226-0 | REPAIR KIT; CLU M/CYL | 1 | 2204- | ALL | (IADG) | ||
008 | I8-97163 191-0 | CONNECTOR; PIPE,CLU M/CYL | 1 | 2204- | ALL | |||
001 | I8-98117 639-0 | CYLINDER ASM; CLUTCH MASTER | 1 | 2204- | ALL | |||
006 | I8-94412 200-0 | BOOT; CLU M/CYL | 1 | 2204- | ALL | |||
064 | I8-97167 767-0 | GASKET; CONNECTOR | 1 | 2204- | ALL | |||
005 | I8-97167 768-0 | ROD; PUSH,CLU M/CYL | 1 | 2204- | ALL | |||
007 | I8-97167 780-0 | SPRING ASM; CLU M/CYL | 1 | 2204- | ALL | |||
001 | I6-98117 639-0 | CYLINDER ASM; CLUTCH MASTER | 1 | 2204- | ALL | (IADG) |