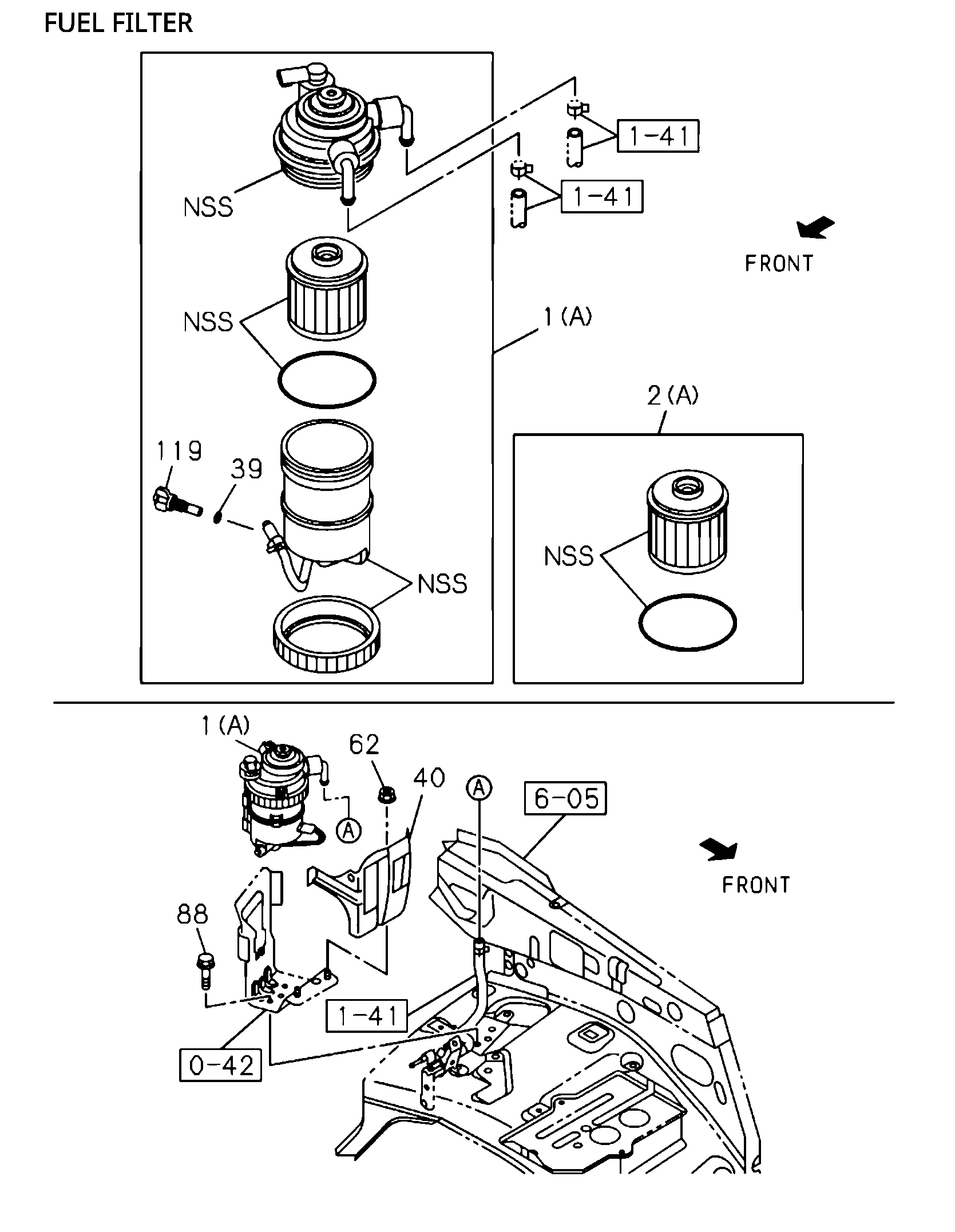
0-41 | 0-41 - FUEL FILTER AND BRACKET


MUX
MU-X 2022
Key | PART NO | ITC | DESCRIPTION | QTY | APP DATE | LR | MODEL | REMARKS |
---|---|---|---|---|---|---|---|---|
88 | I8-98076 109-0 | BOLT; BRKT.FUEL FILTER | 3 | 2110- | AB | M8X16 FLANGE | ||
2 | I8-98159 693-A | ELEMENT KIT; FUEL FILTER | 1 | 2110- | A B | IADG (A) ORANGE PLATE END | ||
40 | I8-98388 198-2 | BRACKET; FUEL FILTER | 1 | 2110- | AB | |||
1 | I8-98067 761-3 | FILTER ASM; | 1 | 2110- | A B | EXC. RETURN FUEL RECIRCULATION VALVE FUEL FILTER(V10) (A) | ||
119 | I8-98188 941-0 | PLUG; DRAIN,FUEL FILTER | 1 | 2110- | A B | |||
62 | I0-91180 208-0 | NUT; FUEL FILTER | 2 | 2110- | AB | M8FLANGE | ||
2 | I8-98159 693-0 | ELEMENT KIT; FUEL FILTER | 1 | 2110- | A B | (A) ORANGE PLATE END | ||
39 | I8-98188 943-0 | GASKET; DRAIN PLUG | 1 | 2110- | A B |