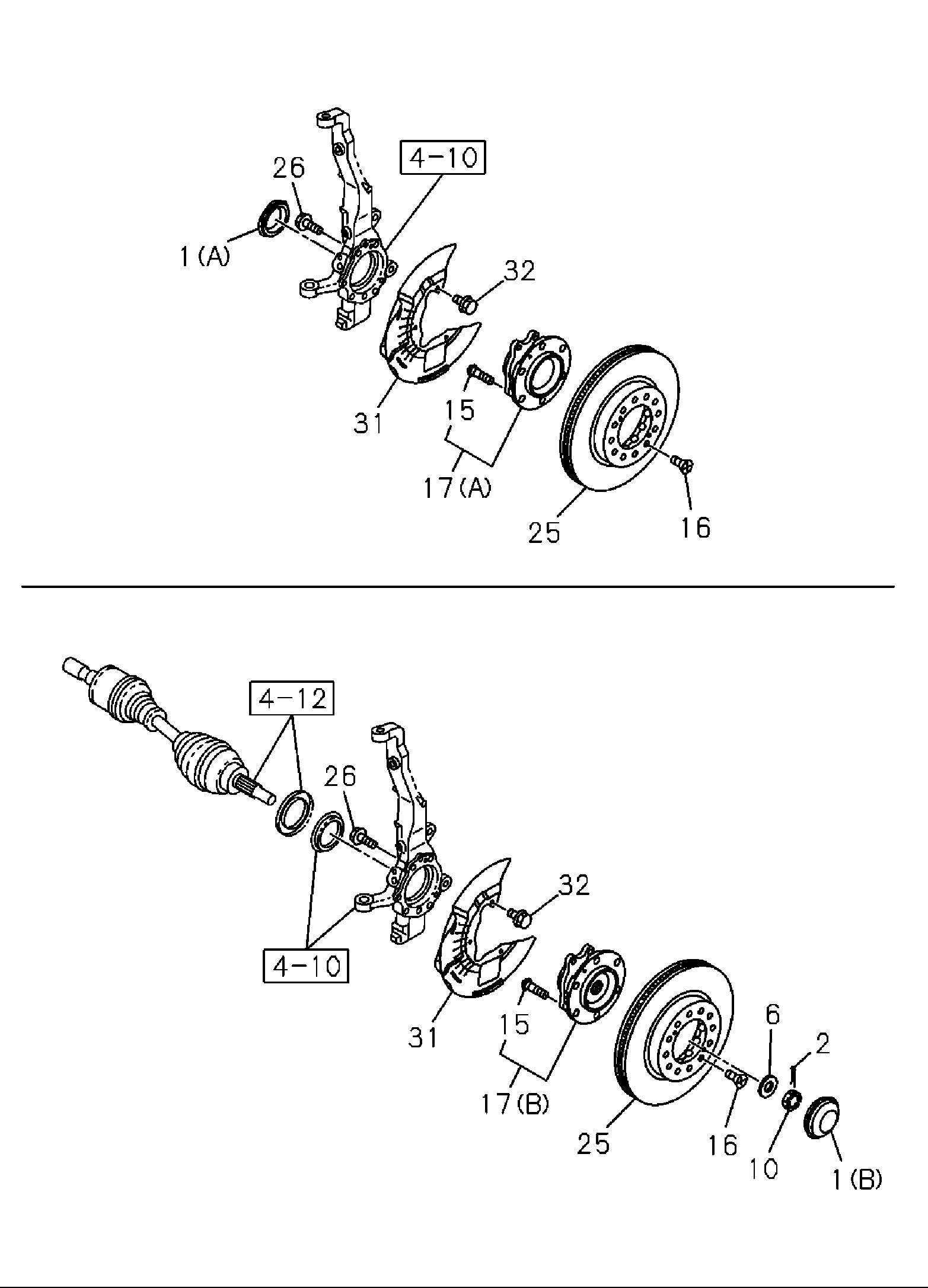
4-11 | 4-11A FRONT HUB AND DRUM OR ROTOR

MUX
MU-X 2025
Key | PART NO | ITC | DESCRIPTION | QTY | APP DATE | LR | MODEL | REMARKS |
---|---|---|---|---|---|---|---|---|
025 | I8-98376 755-0 | ROTOR; DISC BRK,FRT | 2 | 2410- | AB | AUSTRALIA EQUIPMENT(B13) | ||
016 | I0-36410 616-0 | SCREW; DRUM TO HUB | 2 | 2410- | AB | M6X16 CK-HEAD | ||
010 | I1-09442 028-0 | NUT; FRT HUB BRG | 2 | 2410- | B | M24 SLOTTED | ||
026 | I0-28061 240-0 | BOLT; BRK,DISC TO HUB | 8 | 2410- | AB | M12X40 FLANGE | ||
017 | I8-98395 194-0 | HUB; FRT AXLE | 2 | 2410- | B | (B) | ||
025 | I8-98376 754-0 | ROTOR; DISC BRK,FRT | 2 | 2410- | A | INDONESIA EQUIPMENT(B00),SOUTH AFRICA EQUIPMENT(B02),GENERAL EXPORT EQUIPMENT(TAA) | ||
017 | I8-98395 193-0 | HUB; FRT AXLE | 2 | 2410- | A | (A) | ||
025 | I8-98376 754-0 | ROTOR; DISC BRK,FRT | 2 | 2410- | B | INDONESIA EQUIPMENT(B00),SOUTH AFRICA EQUIPMENT(B02),CONGO EQUIPMENT(CDF),CENTRAL AMERICA EQUIPMENT(E03),GENERAL EXPORT EQUIPMENT(TAA) | ||
002 | I0-81124 040-0 | PIN; SPLIT,HUB TO AXLE SHAFT | 2 | 2410- | B | |||
031 | I8-98376 763-0 | COVER; DUST,FRT BRAKE | 1 | 2410- | L | AB | ||
032 | I8-97542 225-2 | BOLT; DUST COVER TO KNUCKLE | 6 | 2410- | AB | M8X10 W/PL WASHER | ||
031 | I8-98376 762-0 | COVER; DUST,FRT BRAKE | 1 | 2410- | R | AB | ||
001 | I8-98392 644-0 | CAP; HUB,FRT AXLE | 2 | 2410- | A | (A) | ||
001 | I8-98393 291-0 | CAP; HUB,FRT AXLE | 2 | 2410- | B | (B) | ||
015 | I8-97944 831-1 | PIN; WHEEL,FRT AXLE | 12 | 2410- | AB | M12X42.5 RH THREAD | ||
006 | I8-97509 779-0 | WASHER; LK,FRT HUB | 2 | 2410- | B |