0-31 | TERMOSTAT AND HOUSING
ELF
NLR55 NMR71
| Key | PART NO | ITC | DESCRIPTION | QTY | APP DATE | LR | MODEL | REMARKS |
|---|---|---|---|---|---|---|---|---|
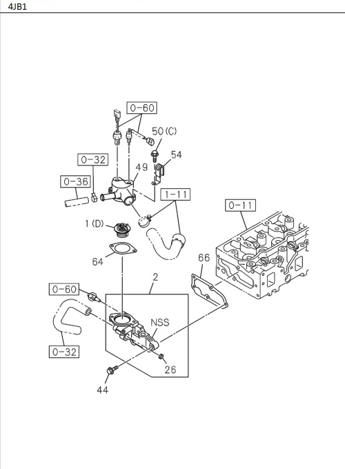
| 1 | I8-97300 789-3 | THERMOSTAT | 1 | 1512- | 4HG1-T | (A) 82 CELSIUS | ||
| 49 | I8-97204 199-0 | PIPE; WATER OUTLET | 1 | 1512- | 4JB1-TC | |||
| 50 | I0-50640 830-0 | BOLT; OUTLET PIPE | 2 | 1512- | 4JB1-TC | (C ) | ||
| 216 | I8-97358 699-0 | PIPE ASM, WATER, TURBOCHARGER RET | 1 | 1512- | 4HG1-T | |||
| 64 | I8-94365 674-2 | GASKET; OUTLAT PIPE TO HSG | 1 | 1512- | 4JB1-TC | |||
| 50 | I0-28650 825-0 | BOLT, OUTLET PIPE | 2 | 1807- | 4HL1-TC | (A) M8X25 | ||
| 26 | I5-11219 008-0 | CUP, SEALING, VLV, VENTILATION | 1 | 1512- | 4JB1-TC | OD=18 | ||
| 49 | I8-97372 769-A | PIPE; WATER OUTLET | 1 | 1512- | 4HG1-T | |||
| 1 | I8-97254 816-1 | THERMOSTAT | 1 | 1512- | 4JB1-TC | (B) 82 CELSIUS | ||
| 50 | I0-50640 830-0 | BOLT, OUTLET PIPE | 2 | 1512- | 4JB1-TC | (C ) | ||
| 15 | I8-94342 574-0 | PIPE; BYPASS | 1 | 1512- | 4HG1-T | |||
| 1 | I8-97300 790-3 | THERMOSTAT | 1 | 1807- | 4HL1-TC | (B) 82 CELSIUS | ||
| 58 | I8-97021 211-1 | PLUG; WATER OUTLAT PIPE | 1 | 1512- | 4HG1-T | M8X16 | ||
| 50 | I0-28650 825-0 | BOLT; OUTLET PIPE | 2 | 1807- | 4HL1-TC | (A) M8X25 | ||
| 1 | I8-97300 790-3 | THERMOSTAT | 1 | 1807- | 4HL1-TC | (B) 82 CELSIUS | ||
| 44 | I0-50540 830-0 | BOLT, HSG TO HD | 5 | 1512- | 4JB1-TC | M8X30 | ||
| 14 | I9-09661 005-0 | PLUG; SW | 1 | 1512- | 4HG1-T | (B) M16X8 PLUG | ||
| 54 | I8-94130 076-0 | CLIP; THERMO SWITCH, OUTLAT PIPE | 1 | 1512- | 4JB1-TC | ID=13 H=50 L=27 | ||
| 207 | I1-09630 082-0 | GASKET | 1 | 1807- | 4HL1-TC | ID=8.2 OD=13.2 | ||
| 168 | I8-97358 699-0 | PIPE, WATER,COOLER | 1 | 1807- | 4HL1-TC | |||
| 207 | I1-09630 082-0 | GASKET | 1 | 1807- | 4HL1-TC | ID=8.2 OD=13.2 | ||
| 64 | I8-94365 674-2 | GASKET, OUTLAT PIPE TO HSG | 1 | 1512- | 4JB1-TC | |||
| 14 | I5-09605 005-0 | PLUG; SW | 1 | 1512- | 4HG1-T | (A) PT3/8 | ||
| 14 | I9-09661 005-0 | PLUG; SW | 1 | 1807- | 4HL1-TC | M16X8 PLUG | ||
| 26 | I5-11219 008-0 | CUP; SEALING, VLV, VENTILATION | 1 | 1512- | 4JB1-TC | OD=18 | ||
| 168 | I8-97358 699-0 | PIPE; WATER,COOLER | 1 | 1807- | 4HL1-TC | |||
| 50 | I1-09044 072-1 | BOLT, OUTLET PIPE | 2 | 1807- | 4HL1-TC | (B) M8X65 | ||
| 14 | I5-09605 005-0 | PLUG, SW | 1 | 1512- | 4HG1-T | (A) PT3/8 | ||
| 30 | I8-97373 039-1 | SPACER | 1 | 1512- | 4HG1-T | |||
| 207 | I1-09630 082-0 | GASKET | 1 | 1512- | 4HG1-T | ID=8.2 OD=13.2 | ||
| 1 | I8-97300 789-3 | THERMOSTAT | 1 | 1512- | 4HG1-T | (A) 82 CELSIUS | ||
| 15 | I8-94342 574-0 | PIPE; BYPASS | 1 | 1807- | 4HL1-TC | |||
| 50 | I1-09044 072-1 | BOLT, OUTLET PIPE | 2 | 1512- | 4HG1-T | (A) 18X65 | ||
| 58 | I8-97021 211-1 | PLUG; WATER OUTLET PIPE | 1 | 1807- | 4HL1-TC | M8X16 | ||
| 66 | I8-97212 537-1 | GASKET, THERMOSTAT HSG | 1 | 1512- | 4JB1-TC | |||
| 66 | I8-98280 281-0 | GASKET; THERMOSTAT HSG | 1 | 1512- | 4HG1-T | ID=49.5 OD=56.5 | ||
| 58 | I8-97021 211-1 | PLUG, WATER OUTLET PIPE | 1 | 1807- | 4HL1-TC | M8X16 | ||
| 49 | I8-97372 769-A | PIPE; WATER OUTLET | 1 | 1807- | 4HL1-TC | |||
| 66 | I8-98280 281-0 | GASKET, THERMOSTAT HSG | 2 | 1807- | 4HL1-TC | ID=49.5 OD=56.5 | ||
| 66 | I8-97212 537-1 | GASKET; THERMOSTAT HSG | 1 | 1512- | 4JB1-TC | |||
| 2 | I8-97139 604-3 | HOUSING, THERMOSTAT | 1 | 1512- | 4JB1-TC | |||
| 216 | I8-97358 699-0 | PIPE ASM; WATER, TURBOCHARGER RET | 1 | 1512- | 4HG1-T | |||
| 54 | I8-94130 076-0 | CLIP, THERMO SWITCH, OUTLAT PIPE | 1 | 1512- | 4JB1-TC | ID=13 H=50 L=27 | ||
| 1 | I8-97300 787-3 | THERMOSTAT | 1 | 1807- | 4HL1-TC | (A) 85 CELSIUS | ||
| 50 | I1-09044 072-1 | BOLT; OUTLET PIPE | 2 | 1807- | 4HL1-TC | (B) M8X65 | ||
| 44 | I0-50540 830-0 | BOLT; HSG TO HD | 5 | 1512- | 4JB1-TC | M8X30 | ||
| 30 | I8-97373 039-1 | SPACER | 1 | 1512- | 4HG1-T | |||
| 66 | I8-98280 281-0 | GASKET; THERMOSTAT HSG | 2 | 1807- | 4HL1-TC | ID=49.5 OD=56.5 | ||
| 50 | I1-09044 072-1 | BOLT; OUTLET PIPE | 2 | 1512- | 4HG1-T | (A) 18X65 | ||
| 1 | I8-97300 787-3 | THERMOSTAT | 1 | 1807- | 4HL1-TC | (A) 85 CELSIUS | ||
| 49 | I8-97204 199-0 | PIPE, WATER OUTLET | 1 | 1512- | 4JB1-TC | |||
| 50 | I0-28650 825-0 | BOLT; OUTLET PIPE | 2 | 1512- | 4HG1-T | (B) M8X25 | ||
| 49 | I8-97372 769-A | PIPE, WATER OUTLET | 1 | 1807- | 4HL1-TC | |||
| 15 | I8-94342 574-0 | PIPE, BYPASS | 1 | 1807- | 4HL1-TC | |||
| 1 | I8-97254 816-1 | THERMOSTAT | 1 | 1512- | 4JB1-TC | (B) 82 CELSIUS | ||
| 14 | I9-09661 005-0 | PLUG, SW | 1 | 1807- | 4HL1-TC | M16X8 PLUG | ||
| 2 | I8-97139 604-3 | HOUSING; THERMOSTAT | 1 | 1512- | 4JB1-TC |