| 56 |
I8-98324 268-0 |
|
STAY; RAD |
1 |
1512- |
|
4HG1-T |
|
| 74 |
I0-91610 710-0 |
|
WASHER, PL, CUSHION RUBBER |
1 |
1512- |
|
ALL |
(A) ID=10.5 |
| 81 |
I8-97088 810-A |
|
SCREW; FAN GUIDE, RAD |
4 |
1512- |
|
4HG1-T |
|
| 56 |
I8-98366 458-A |
|
STAY, RAD |
1 |
1807- |
|
4HL1-TC |
|
| 92 |
I8-98224 796-2 |
|
BRACKET; FAN GUIDE |
1 |
1807- |
|
4HL1-TC |
(B) |
| 21 |
I8-97219 806-3 |
|
SEAL, RAD |
1 |
1512- |
|
4JB1-TC |
|
| 16 |
I8-98096 226-0 |
|
CAP, RAD |
1 |
1807- |
|
4HL1-TC |
|
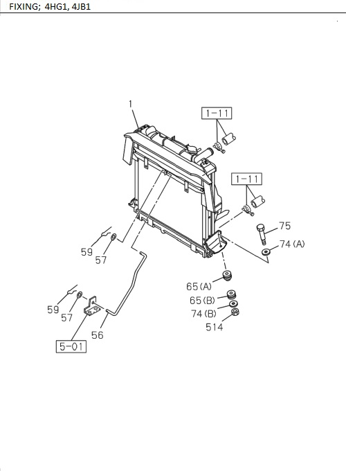
| 74 |
I0-91610 710-0 |
|
WASHER; PL, CUSHION RUBBER |
1 |
1512- |
|
ALL |
(A) ID=10.5 |
| 92 |
I8-98224 796-2 |
|
BRACKET, FAN GUIDE |
1 |
1807- |
|
4HL1-TC |
(B) |
| 56 |
I8-97383 947-1 |
|
STAY; RAD |
1 |
1512- |
|
4JB1-TC |
|
| 80 |
I8-98039 672-0 |
|
BOLT; FAN GUIDE |
4 |
1807- |
|
4HL1-TC |
(B) M6X12 |
| 92 |
I8-98224 797-2 |
|
BRACKET; FAN GUIDE |
1 |
1807- |
|
4HL1-TC |
(C) |
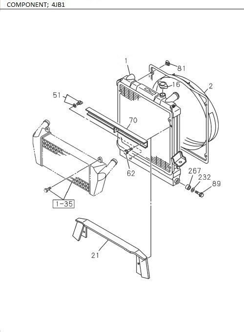
| 70 |
I8-97061 314-A |
|
STAY; RAD |
1 |
1512- |
|
4JB1-TC |
|
| 89 |
I1-21469 153-A |
|
BOLT |
2 |
1512- |
|
4JB1-TC |
M8X25 |
| 549 |
I8-97228 568-0 |
|
CLIP, SEAL,RAD |
5 |
1807- |
|
4HL1-TC |
|
| 70 |
I8-98268 105-0 |
|
STAY; RAD |
1 |
1807- |
|
4HL1-TC |
|
| 62 |
I0-28050 812-A |
|
BOLT, STAY |
2 |
1512- |
|
ALL |
M8X12 |
| 92 |
I8-98224 795-1 |
|
BRACKET, FAN GUIDE |
1 |
1807- |
|
4HL1-TC |
(A) |
| 536 |
I8-98224 798-1 |
|
SHROUD; FAN |
1 |
1807- |
|
4HL1-TC |
MXR |
| 1 |
I8-97162 143-A |
|
RADIATOR ASM |
1 |
1512- |
|
4HG1-T |
|
| 70 |
I8-97047 899-A |
|
STAY; RAD |
1 |
1512- |
|
4HG1-T |
|
| 92 |
I8-98224 795-1 |
|
BRACKET; FAN GUIDE |
1 |
1807- |
|
4HL1-TC |
(A) |
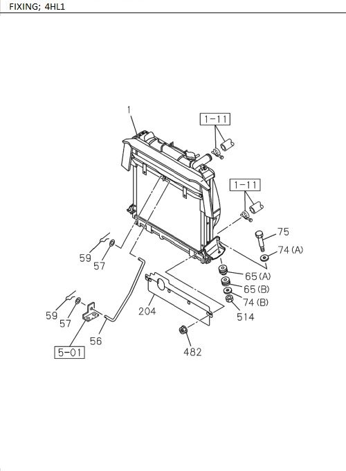
| 59 |
I8-97359 052-0 |
|
PIN; SNAP, STAY |
2 |
1512- |
|
ALL |
L=32.6 |
| 62 |
I0-28050 812-A |
|
BOLT; STAY |
2 |
1512- |
|
ALL |
M8X12 |
| 2 |
I8-97066 011-A |
|
GUIDE, FAN |
1 |
1512- |
|
4JB1-TC |
|
| 65 |
I8-94249 346-A |
|
INSULATOR, RAD |
2 |
1512- |
|
ALL |
(A) |
| 421 |
I0-28050 816-0 |
|
BOLT, BRKT FAN GUIDE |
2 |
1807- |
|
4HL1-TC |
M8X16 |
| 80 |
I0-28151 020-0 |
|
BOLT; FAN GUIDE |
2 |
1807- |
|
4HL1-TC |
(C) M10X20 |
| 16 |
I8-94228 748-A |
|
CAP; RAD |
1 |
1512- |
|
4JB1-TC |
|
| 267 |
I1-21467 023-0 |
|
RUBBER; CUSHION |
2 |
1512- |
|
4JB1-TC |
|
| 79 |
I8-98268 110-0 |
|
GUIDE, FAN,RAD |
1 |
1807- |
|
4HL1-TC |
|
| 1 |
I8-98365 157-0 |
|
RADIATOR ASM |
1 |
1807- |
|
4HL1-TC |
|
| 57 |
I0-91610 510-0 |
|
WASHER; PL, STAY |
2 |
1512- |
|
ALL |
ID=10.5 |
| 70 |
I8-98268 105-0 |
|
STAY, RAD |
1 |
1807- |
|
4HL1-TC |
|
| 79 |
I8-98268 110-0 |
|
GUIDE; FAN,RAD |
1 |
1807- |
|
4HL1-TC |
|
| 21 |
I8-98382 081-0 |
|
SEAL, RAD |
1 |
1807- |
|
4HL1-TC |
|
| 56 |
I8-97383 947-1 |
|
STAY, RAD |
1 |
1512- |
|
4JB1-TC |
|
| 51 |
I8-97171 437-A |
|
PLUG, DRAIN |
1 |
1512- |
|
ALL |
W/GASKET |
| 2 |
I8-97066 011-A |
|
GUIDE; FAN |
1 |
1512- |
|
4JB1-TC |
|
| 514 |
I0-91180 108-0 |
|
NUT; RAD |
2 |
1512- |
|
ALL |
M8 |
| 65 |
I8-94249 347-A |
|
INSULATOR, RAD |
2 |
1512- |
|
ALL |
(B) |
| 100 |
I1-09337 027-0 |
|
RUBBER; MTG |
6 |
1807- |
|
4HL1-TC |
OD=32 |
| 421 |
I0-28050 816-0 |
|
BOLT; BRKT FAN GUIDE |
2 |
1807- |
|
4HL1-TC |
M8X16 |
| 514 |
I0-91180 108-0 |
|
NUT, RAD |
2 |
1512- |
|
ALL |
M8 |
| 21 |
I8-97221 419-1 |
|
SEAL; RAD |
1 |
1512- |
|
4HG1-T |
|
| 21 |
I8-98382 081-0 |
|
SEAL; RAD |
1 |
1807- |
|
4HL1-TC |
|
| 1 |
I8-97162 143-A |
|
RADIATOR ASM |
1 |
1512- |
|
4HG1-T |
|
| 1 |
I8-98365 157-0 |
|
RADIATOR ASM |
1 |
1807- |
|
4HL1-TC |
|
| 80 |
I0-28151 020-0 |
|
BOLT, FAN GUIDE |
2 |
1807- |
|
4HL1-TC |
(C) M10X20 |
| 70 |
I8-97061 314-A |
|
STAY, RAD |
1 |
1512- |
|
4JB1-TC |
|
| 232 |
I8-98141 232-A |
|
COLLAR, DIST, CUSHION RUBBER |
2 |
1512- |
|
4JB1-TC |
|
| 81 |
I8-97088 810-A |
|
SCREW, FAN GUIDE, RAD |
4 |
1512- |
|
4HG1-T |
|
| 82 |
I8-97387 085-1 |
|
COVER, FAN,RAD |
1 |
1807- |
|
4HL1-TC |
|
| 482 |
I0-91180 108-0 |
|
NUT; AIR GUIDE |
2 |
1807- |
|
4HL1-TC |
M8 |
| 100 |
I1-09337 027-0 |
|
RUBBER, MTG |
6 |
1807- |
|
4HL1-TC |
OD=32 |
| 2 |
I8-97203 091-A |
|
GUIDE; FAN |
1 |
1512- |
|
4HG1-T |
|
| 56 |
I8-98324 268-0 |
|
STAY, RAD |
1 |
1512- |
|
4HG1-T |
|
| 204 |
I8-97383 928-1 |
|
GUIDE ASM; AIR |
1 |
1807- |
|
4HL1-TC |
|
| 267 |
I1-21467 023-A |
|
RUBBER, CUSHION |
2 |
1512- |
|
4JB1-TC |
|
| 75 |
I8-94249 446-0 |
|
BOLT; CUSHION RUBBER, RAD MTG |
1 |
1512- |
|
ALL |
M8X63 |
| 21 |
I8-97219 806-3 |
|
SEAL; RAD |
1 |
1512- |
|
4JB1-TC |
|
| 92 |
I8-98224 797-2 |
|
BRACKET, FAN GUIDE |
1 |
1807- |
|
4HL1-TC |
(C) |
| 80 |
I8-98039 672-0 |
|
BOLT, FAN GUIDE |
4 |
1807- |
|
4HL1-TC |
(B) M6X12 |
| 1 |
I8-97178 663-A |
|
RADIATOR ASM |
1 |
1512- |
|
4JB1-TC |
|
| 81 |
I8-97088 810-A |
|
SCREW; FAN GUIDE, RAD |
4 |
1512- |
|
4JB1-TC |
|
| 204 |
I8-97383 928-1 |
|
GUIDE ASM, AIR |
1 |
1807- |
|
4HL1-TC |
|
| 65 |
I8-94249 346-A |
|
INSULATOR; RAD |
2 |
1512- |
|
ALL |
(A) |
| 2 |
I8-97203 091-A |
|
GUIDE, FAN |
1 |
1512- |
|
4HG1-T |
|
| 74 |
I8-97359 049-1 |
|
WASHER; PL, CUSHION RUBBER |
2 |
1512- |
|
ALL |
(B) ID=8.5 |
| 549 |
I8-97228 568-0 |
|
CLIP; SEAL,RAD |
5 |
1807- |
|
4HL1-TC |
|
| 80 |
I0-28650 830-0 |
|
BOLT, FAN GUIDE |
3 |
1807- |
|
4HL1-TC |
(A) M8X30 |
| 74 |
I8-97359 049-1 |
|
WASHER, PL, CUSHION RUBBER |
2 |
1512- |
|
ALL |
(B) ID=8.5 |
| 89 |
I1-21469 153-0 |
|
BOLT |
2 |
1512- |
|
4JB1-TC |
M8X25 |
| 232 |
I8-98141 232-A |
|
COLLAR; DIST, CUSHION RUBBER |
2 |
1512- |
|
4JB1-TC |
|
| 65 |
I8-94249 347-A |
|
INSULATOR; RAD |
2 |
1512- |
|
ALL |
(B) |
| 59 |
I8-97359 052-0 |
|
PIN, SNAP, STAY |
2 |
1512- |
|
ALL |
L=32.6 |
| 82 |
I8-97387 085-1 |
|
COVER; FAN,RAD |
1 |
1807- |
|
4HL1-TC |
|
| 16 |
I8-94228 748-A |
|
CAP; RAD |
1 |
1512- |
|
4HG1-T |
|
| 51 |
I8-97171 437-A |
|
PLUG; DRAIN |
1 |
1512- |
|
ALL |
W/GASKET |
| 57 |
I0-91610 510-0 |
|
WASHER, PL, STAY |
2 |
1512- |
|
ALL |
ID=10.5 |
| 536 |
I8-98224 798-1 |
|
SHROUD, FAN |
1 |
1807- |
|
4HL1-TC |
MXR |
| 16 |
I8-94228 748-A |
|
CAP, RAD |
1 |
1512- |
|
4HG1-T |
|
| 56 |
I8-98366 458-A |
|
STAY; RAD |
1 |
1807- |
|
4HL1-TC |
|
| 16 |
I8-98096 226-0 |
|
CAP; RAD |
1 |
1807- |
|
4HL1-TC |
|
| 80 |
I0-28650 830-0 |
|
BOLT; FAN GUIDE |
3 |
1807- |
|
4HL1-TC |
(A) M8X30 |
| 1 |
I8-97178 663-A |
|
RADIATOR ASM |
1 |
1512- |
|
4JB1-TC |
|
| 21 |
I8-97221 419-1 |
|
SEAL, RAD |
1 |
1512- |
|
4HG1-T |
|
| 70 |
I8-97047 899-A |
|
STAY, RAD |
1 |
1512- |
|
4HG1-T |
|
| 75 |
I8-94249 446-0 |
|
BOLT, CUSHION RUBBER, RAD MTG |
1 |
1512- |
|
ALL |
M8X63 |