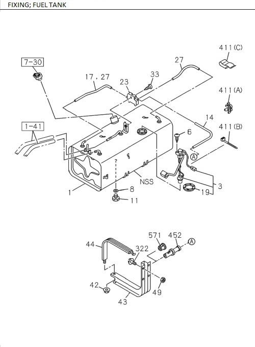
| 33 |
I0-36230 620-0 |
|
SCREW; JOINT TO FUEL TANK |
1 |
1512- |
|
ALL |
M6X20 |
| 23 |
I8-97077 713-1 |
|
JOINT, BREATHER HOSE |
1 |
1512- |
|
ALL |
|
| 322 |
I0-28661 030-0 |
|
BOLT, BRKT FIX |
8 |
1807- |
|
4HL1-TC |
M10X30 |
| 322 |
I0-28661 030-0 |
|
BOLT; BRKT FIX |
6 |
1512- |
|
4JB1-TC |
|
| 8 |
I9-09572 014-0 |
|
GASKET, DRAIN PLUG, FUEL TANK |
1 |
1512- |
|
ALL |
ID=14.2 OD=23.0 |
| 17 |
I8-94128 826-0 |
|
HOSE; BREATHER |
1 |
1512- |
|
4JB1-TC |
L=430 (75L) |
| 452 |
I8-97062 954-1 |
|
BREATHER; FUEL TANK |
1 |
1512- |
|
ALL |
|
| 19 |
I5-83148 001-0 |
|
GASKET, FUEL TANK UNIT |
1 |
1512- |
|
ALL |
ID=42 OD=71 |
| 411 |
I8-97371 947-0 |
|
CLIP, FUEL TANK UNIT HARNESS |
2 |
1512- |
|
4JB1-TC |
(B) T=4.5&9 |
| 3 |
I8-98302 536-0 |
|
UNIT; FUEL TANK, SUB |
1 |
1512- |
|
ALL |
|
| 411 |
I8-97371 951-0 |
|
CLIP; FUEL TANK UNIT HARNESS |
1 |
1601- |
|
4HG1-T |
(A) T=5.5 |
| 300 |
I0-28650 820-0 |
|
BOLT, BRKT TO BODY |
2 |
1807- |
|
4HL1-TC |
M8X20 |
| 49 |
I7-05110 010-A |
|
NUT, BRKT |
8 |
1512- |
|
ALL |
M10 |
| 411 |
I8-97041 091-0 |
|
CLIP; FUEL TANK UNIT HARNESS |
1 |
1512- |
|
ALL |
(B) T=9.2&9 |
| 571 |
I8-97096 990-0 |
|
GROMMET |
1 |
1512- |
|
ALL |
|
| 27 |
I8-94128 826-0 |
|
HOSE; BREATHER |
2 |
1512- |
|
ALL |
|
| 411 |
I8-97371 949-0 |
|
CLIP, FUEL TANK UNIT HARNESS |
1 |
1512- |
|
4HG1-T |
(B) T=9&10.5 |
| 411 |
I5-09709 011-0 |
|
CLIP, FUEL TANK UNIT HARNESS |
1 |
1512- |
|
4JB1-TC |
(A) T=4.5 |
| 33 |
I0-36230 620-0 |
|
SCREW, JOINT TO FUEL TANK |
1 |
1512- |
|
ALL |
M6X20 |
| 411 |
I5-09709 013-0 |
|
CLIP, FUEL TANK UNIT HARNESS |
1 |
1512- |
|
4HG1-T |
(A) T=9.2 |
| 6 |
I0-36220 510-0 |
|
SCREW; TANK UNIT TO SUB FUEL TANK |
5 |
1512- |
|
ALL |
M5X10 |
| 411 |
I8-97371 948-0 |
|
CLIP; FUEL TANK UNIT HARNESS |
2 |
1512- |
|
4HG1-T |
(B) T=6.0 |
| 492 |
I5-09707 030-1 |
|
CLIP, HARNESS TO VAC HOSE |
2 |
1512- |
|
ALL |
L=250 |
| 322 |
I0-28661 030-0 |
|
BOLT; BRKT FIX |
8 |
1807- |
|
4HL1-TC |
M10X30 |
| 318 |
I8-98289 251-0 |
|
HOSE ASM; FUEL, DELIVERY, RETRUN |
1 |
1512- |
|
4HG1-T |
|
| 492 |
I5-09707 030-1 |
|
CLIP; HARNESS TO VAC HOSE |
2 |
1512- |
|
ALL |
L=250 |
| 27 |
I8-94128 826-0 |
|
HOSE, BREATHER |
2 |
1512- |
|
ALL |
|
| 1 |
I8-97695 682-A |
|
TANK; FUEL |
1 |
1512- |
|
4JB1-TC |
75L |
| 230 |
I8-94128 319-A |
|
GROMMET, HARNESS, FUEL TANK UNIT |
2 |
1512- |
|
ALL |
ID=17 |
| 411 |
I8-97371 949-0 |
|
CLIP; FUEL TANK UNIT HARNESS |
1 |
1512- |
|
4HG1-T |
(B) T=9&10.5 |
| 411 |
I8-97371 947-0 |
|
CLIP; FUEL TANK UNIT HARNESS |
2 |
1512- |
|
4JB1-TC |
(B) T=4.5&9 |
| 411 |
I5-09707 031-1 |
|
CLIP, FUEL TANK UNIT HARNESS |
2 |
1512- |
|
ALL |
(C) L=140 |
| 43 |
I8-97035 517-A |
|
BRACKET, FUEL TANK |
2 |
1512- |
|
ALL |
75L, 100L |
| 411 |
I5-09707 031-1 |
|
CLIP, FUEL TANK UNIT HARNESS |
1 |
1807- |
|
4HL1-TC |
(B) L=140 |
| 1 |
I8-97695 682-A |
|
TANK, FUEL |
1 |
1512- |
|
4JB1-TC |
75L |
| 411 |
I8-97371 948-0 |
|
CLIP, FUEL TANK UNIT HARNESS |
2 |
1512- |
|
4HG1-T |
(B) T=6.0 |
| 3 |
I8-98302 536-0 |
|
UNIT, FUEL TANK, SUB |
1 |
1512- |
|
ALL |
|
| 318 |
I8-98289 251-0 |
|
HOSE ASM, FUEL, DELIVERY, RETRUN |
1 |
1512- |
|
4HG1-T |
|
| 1 |
I8-97695 683-A |
|
TANK, FUEL |
1 |
1512- |
|
ALL |
100L |
| 11 |
I8-94152 613-A |
|
PLUG, DRAIN, FUEL TANK |
1 |
1512- |
|
ALL |
M14X14 |
| 8 |
I9-09572 014-0 |
|
GASKET; DRAIN PLUG, FUEL TANK |
1 |
1512- |
|
ALL |
ID=14.2 OD=23.0 |
| 14 |
I9-09914 701-0 |
|
HOSE, BREATHER, OUTLATE |
1 |
1512- |
|
ALL |
L=430 |
| 300 |
I0-28650 820-0 |
|
BOLT, BRKT TO BODY |
1 |
1601- |
|
4HG1-T |
M8X20 |
| 411 |
I1-09709 288-0 |
|
CLIP, FUEL TANK UNIT HARNESS |
1 |
1807- |
|
4HL1-TC |
(A) ID=5-12 L=22 |
| 230 |
I8-94128 319-A |
|
GROMMET; HARNESS, FUEL TANK UNIT |
2 |
1512- |
|
ALL |
ID=17 |
| 300 |
I0-28650 820-0 |
|
BOLT; BRKT TO BODY |
1 |
1601- |
|
4HG1-T |
M8X20 |
| 19 |
I5-83148 001-0 |
|
GASKET, FUEL TANK UNIT |
1 |
1512- |
|
ALL |
ID=42 OD=71 |
| 11 |
I8-94152 613-A |
|
PLUG; DRAIN, FUEL TANK |
1 |
1512- |
|
ALL |
M14X14 |
| 322 |
I0-28661 030-0 |
|
BOLT; BRKT FIX |
8 |
1512- |
|
4HG1-T |
|
| 322 |
I0-28661 030-0 |
|
BOLT, BRKT FIX |
8 |
1512- |
|
4HG1-T |
|
| 411 |
I5-09707 031-1 |
|
CLIP; FUEL TANK UNIT HARNESS |
1 |
1807- |
|
4HL1-TC |
(B) L=140 |
| 300 |
I0-28650 820-0 |
|
BOLT; BRKT TO BODY |
2 |
1807- |
|
4HL1-TC |
M8X20 |
| 411 |
I5-09709 012-0 |
|
CLIP, FUEL TANK UNIT HARNESS |
1 |
1512- |
|
4JB1-TC |
(A) T=6.0 |
| 411 |
I8-97371 951-0 |
|
CLIP, FUEL TANK UNIT HARNESS |
1 |
1601- |
|
4HG1-T |
(A) T=5.5 |
| 17 |
I8-94128 826-0 |
|
HOSE, BREATHER |
1 |
1512- |
|
4JB1-TC |
L=430 (75L) |
| 42 |
I9-09130 408-0 |
|
NUT, SUPPORT BELT |
2 |
1512- |
|
ALL |
M8 |
| 23 |
I8-97077 713-1 |
|
JOINT; BREATHER HOSE |
1 |
1512- |
|
ALL |
|
| 44 |
I7-56402 275-A |
|
BAND, FUEL TANK |
2 |
1512- |
|
ALL |
|
| 42 |
I9-09130 408-0 |
|
NUT; SUPPORT BELT |
2 |
1512- |
|
ALL |
M8 |
| 411 |
I5-09709 012-0 |
|
CLIP, FUEL TANK UNIT HARNESS |
1 |
1512- |
|
4HG1-T |
(A) T=6.0 |
| 6 |
I0-36220 510-0 |
|
SCREW, TANK UNIT TO SUB FUEL TANK |
5 |
1512- |
|
ALL |
M5X10 |
| 411 |
I5-09707 031-1 |
|
CLIP; FUEL TANK UNIT HARNESS |
2 |
1512- |
|
ALL |
(C) L=140 |
| 411 |
I5-09709 011-0 |
|
CLIP; FUEL TANK UNIT HARNESS |
1 |
1512- |
|
4JB1-TC |
(A) T=4.5 |
| 411 |
I8-97041 091-0 |
|
CLIP, FUEL TANK UNIT HARNESS |
1 |
1512- |
|
ALL |
(B) T=9.2&9 |
| 411 |
I5-09709 012-0 |
|
CLIP; FUEL TANK UNIT HARNESS |
1 |
1512- |
|
4HG1-T |
(A) T=6.0 |
| 44 |
I7-56402 275-A |
|
BAND; FUEL TANK |
2 |
1512- |
|
ALL |
|
| 411 |
I5-09709 012-0 |
|
CLIP; FUEL TANK UNIT HARNESS |
1 |
1512- |
|
4JB1-TC |
(A) T=6.0 |
| 452 |
I8-97062 954-1 |
|
BREATHER, FUEL TANK |
1 |
1512- |
|
ALL |
|
| 411 |
I1-09709 288-0 |
|
CLIP; FUEL TANK UNIT HARNESS |
1 |
1807- |
|
4HL1-TC |
(A) ID=5-12 L=22 |
| 1 |
I8-97695 683-A |
|
TANK; FUEL |
1 |
1512- |
|
ALL |
100L |
| 571 |
I8-97096 990-0 |
|
GROMMET |
1 |
1512- |
|
ALL |
|
| 411 |
I5-09709 013-0 |
|
CLIP; FUEL TANK UNIT HARNESS |
1 |
1512- |
|
4HG1-T |
(A) T=9.2 |
| 43 |
I8-97035 517-A |
|
BRACKET; FUEL TANK |
2 |
1512- |
|
ALL |
75L; 100L |
| 49 |
I7-05110 010-A |
|
NUT; BRKT |
8 |
1512- |
|
ALL |
M10 |
| 14 |
I9-09914 701-0 |
|
HOSE; BREATHER, OUTLATE |
1 |
1512- |
|
ALL |
L=430 |