3-11 | PARKING BRAKE CONTROL
ELF
NLR55 NMR71
| Key | PART NO | ITC | DESCRIPTION | QTY | APP DATE | LR | MODEL | REMARKS |
|---|---|---|---|---|---|---|---|---|
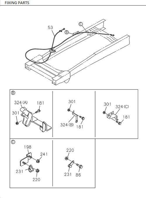
| 53 | I8-97695 477-A | CABLE; PARK BRK, FRT LWR | 1 | 1512- | NMR71 | |||
| 332 | I8-97406 171-0 | CLIP; COVER | 1 | 1512- | ALL | GRAY | ||
| 324 | I8-97696 088-A | BRACKET | 1 | 1807- | NMR81 | |||
| 75 | I0-91805 512-0 | RING, SNAP, HAND BRK CABLE | 1 | 1512- | ALL | ID=12 | ||
| 220 | I0-91180 110-0 | NUT, CLIP, PARKING CONT CABLE | 1 | 1512- | NLR | 4HG1-T, M10 | ||
| 301 | I0-91180 108-0 | NUT; BRKT, BRK & CLU PEDAL | 1 | 1512- | ALL | M8 | ||
| 241 | I0-91180 108-0 | NUT, BRKT | 1 | 1807- | NMR81 | M8 | ||
| 53 | I8-97695 615-A | CABLE, PARK BRK, FRT LWR | 1 | 1512- | NLR | NLR71 | ||
| 86 | I0-28650 825-0 | BOLT | 1 | 1512- | NLR | 4JB1-TC; M8X25 | ||
| 87 | I0-91180 108-0 | NUT | 2 | 1512- | ALL | (A) M8 | ||
| 181 | I0-28650 825-0 | BOLT BRKT | 2 | 1512- | ALL | M8X25 | ||
| 324 | I8-97695 661-A | BRACKET | 1 | 1512- | NLR | (B) 4JB1-TC | ||
| 220 | I0-91180 108-0 | NUT; CLIP, PARKING CONT CABLE | 1 | 1512- | NLR | 4JB1-TC; M8 | ||
| 344 | I8-97096 753-0 | GASKET; DASH LWR | 1 | 1512- | ALL | MANUAL TILT CAB | ||
| 1 | I8-97426 513-0 | STEM ASM, PARKING BRK | 1 | 1512- | ALL | |||
| 324 | I8-97695 662-A | BRACKET | 1 | 1512- | NLR | (A) 4HG1-T | ||
| 181 | I0-28650 825-0 | BOLT BRKT | 2 | 1512- | ALL | M8X25 | ||
| 231 | I1-09701 012-0 | CLIP; BAND,BRK CABLE | 1 | 1807- | NMR81 | 4HL1-TC; ID=14.5 L=20 | ||
| 241 | I0-91180 108-0 | NUT; BRKT | 1 | 1807- | NMR81 | M8 | ||
| 86 | I0-28651 025-0 | BOLT | 1 | 1512- | ALL | 4HG1-T; M10X25 | ||
| 324 | I8-97695 662-A | BRACKET | 1 | 1512- | NMR71 | (A) 4HG1-T | ||
| 231 | I0-95235 286-0 | CLIP; BAND, BRK CABLE | 1 | 1512- | NLR | 4JB1-TC; ID=13 L=50 | ||
| 87 | I0-91180 108-0 | NUT | 2 | 1512- | ALL | (A) M8 | ||
| 24 | I8-98238 611-0 | SWITCH ASM; PARK BRK | 1 | 1512- | ALL | |||
| 87 | I8-98034 313-1 | NUT | 1 | 1512- | ALL | (B) M6 | ||
| 170 | I8-97406 170-1 | COVER, PARKING BRK LEVER | 1 | 1512- | ALL | GRAY | ||
| 170 | I8-97406 170-2 | COVER; PARKING BRK LEVER | 1 | 1512- | ALL | GRAY | ||
| 220 | I0-91180 110-0 | NUT; CLIP, PARKING CONT CABLE | 1 | 1512- | NMR71 | 4HG1-T; M10 | ||
| 324 | I8-97696 088-A | BRACKET | 1 | 1807- | NMR81 | |||
| 53 | I8-97695 476-A | CABLE, PARK BRK, FRT LWR | 1 | 1512- | NLR | NLR55 | ||
| 25 | I8-98152 463-0 | SCREW; SW, PARKING BRK | 1 | 1512- | ALL | |||
| 64 | I0-91380 008-0 | NUT, PARKING BRK | 2 | 1512- | ALL | M8 LOCK NUT | ||
| 220 | I0-91180 110-0 | NUT; CLIP, PARKING CONT CABLE | 1 | 1512- | NLR | 4HG1-T; M10 | ||
| 324 | I8-97695 661-A | BRACKET | 1 | 1512- | NLR | (B) 4JB1-TC | ||
| 1 | I8-97426 513-0 | STEM ASM; PARKING BRK | 1 | 1512- | ALL | |||
| 231 | I1-09701 138-1 | CLIP; BAND, BRK CABLE | 1 | 1512- | NMR71 | 4HG1-T; ID=13 L=20 | ||
| 24 | I8-98238 611-0 | SWITCH ASM, PARK BRK | 1 | 1512- | ALL | |||
| 344 | I8-97096 753-0 | GASKET, DASH LWR | 1 | 1512- | ALL | MANUAL TILT CAB | ||
| 75 | I0-91805 512-0 | RING; SNAP, HAND BRK CABLE | 1 | 1512- | ALL | ID=12 | ||
| 231 | I1-09701 138-1 | CLIP; BAND, BRK CABLE | 1 | 1512- | NLR | 4HG1-T; ID=13 L=20 | ||
| 87 | I8-98034 313-1 | NUT | 1 | 1512- | ALL | (B) M6 | ||
| 86 | I0-28650 825-0 | BOLT | 1 | 1512- | NLR | 4JB1-TC, M8X25 | ||
| 53 | I8-97695 476-A | CABLE; PARK BRK, FRT LWR | 1 | 1512- | NLR | NLR55 | ||
| 53 | I8-97696 085-A | CABLE; PARK BRK,FRT LWR | 1 | 1807- | NMR81 | |||
| 324 | I8-97695 662-A | BRACKET | 1 | 1512- | NLR | (A) 4HG1-T | ||
| 231 | I1-09701 012-0 | CLIP, BAND,BRK CABLE | 1 | 1807- | NMR81 | 4HL1-TC, ID=14.5 L=20 | ||
| 53 | I8-97695 615-A | CABLE; PARK BRK, FRT LWR | 1 | 1512- | NLR | NLR71 | ||
| 220 | I0-91180 108-0 | NUT, CLIP,PARKING CONT CABLE | 1 | 1807- | NMR81 | 4HL1-TC, M8 | ||
| 231 | I1-09701 138-1 | CLIP, BAND, BRK CABLE | 1 | 1512- | NLR | 4HG1-T, ID=13 L=20 | ||
| 231 | I0-95235 286-0 | CLIP, BAND, BRK CABLE | 1 | 1512- | NLR | 4JB1-TC, ID=13 L=50 | ||
| 86 | I0-28651 025-0 | BOLT | 1 | 1512- | ALL | 4HG1-T, M10X25 | ||
| 64 | I0-91380 008-0 | NUT; PARKING BRK | 2 | 1512- | ALL | M8 LOCK NUT | ||
| 220 | I0-91180 108-0 | NUT; CLIP,PARKING CONT CABLE | 1 | 1807- | NMR81 | 4HL1-TC; M8 | ||
| 53 | I8-97695 477-A | CABLE, PARK BRK, FRT LWR | 1 | 1512- | NMR71 | |||
| 332 | I8-97406 171-0 | CLIP, COVER | 1 | 1512- | ALL | GRAY | ||
| 25 | I8-98152 463-0 | SCREW, SW, PARKING BRK | 1 | 1512- | ALL | |||
| 220 | I0-91180 108-0 | NUT, CLIP, PARKING CONT CABLE | 1 | 1512- | NLR | 4JB1-TC, M8 | ||
| 53 | I8-97696 085-A | CABLE, PARK BRK,FRT LWR | 1 | 1807- | NMR81 |