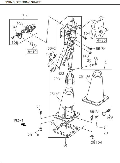
4-31 | STEERING COLUMN AND SHAFT
ELF
NLR55 NMR71
| Key | PART NO | ITC | DESCRIPTION | QTY | APP DATE | LR | MODEL | REMARKS |
|---|---|---|---|---|---|---|---|---|
| 2 | I8-97418 801-3 | SHAFT ASM; STRG | 1 | 1512- | NMR71 | MANUAL TILT CAB | ||
| 231 | I8-98137 329-0 | SEAL; RUBBER, STRG COLUMN | 1 | 1512- | ALL | |||
| 66 | I8-98051 939-0 | BOLT; STRG COLUMN | 2 | 1512- | ALL | (C) M8X24.5 | ||
| 35 | I0-91510 808-0 | WASHER, L K, STRG SHAFT | 1 | 1512- | ALL | ID=8.2 | ||
| 251 | I8-97418 804-0 | COVER; LWR | 1 | 1512- | ALL | (A) MANUAL TILT CAB | ||
| 105 | I8-98045 346-0 | SCREW; IGN SW | 2 | 1512- | ALL | |||
| 148 | I8-97329 625-0 | NUT; COLUMN TO BRKT | 3 | 1512- | ALL | M8 | ||
| 348 | I1-09709 288-0 | CLIP; BRKT, STRG | 1 | 1512- | ALL | (B) ID=5-12 L=22 | ||
| 96 | I8-97359 618-0 | NUT, STRG UNIT | 2 | 1512- | ALL | M12 | ||
| 103 | I8-98045 349-0 | SWITCH; IGNITION | 1 | 1512-2002 | ALL | |||
| 105 | I8-98045 346-0 | SCREW, IGN SW | 2 | 1512- | ALL | |||
| 251 | I8-97417 049-0 | COVER; LWR | 1 | 1512- | ALL | (B) EXC. MANUAL TILT CAB | ||
| 104 | I8-97321 385-0 | BOLT; STRG LOCK TO COLUMN | 2 | 1512- | ALL | M8X20 | ||
| 291 | I8-94463 268-A | GROMMET, STRG SHAFT COVER | 4 | 1512- | ALL | (A) H=15 | ||
| 104 | I8-97321 385-0 | BOLT, STRG LOCK TO COLUMN | 2 | 1512- | ALL | M8X20 | ||
| 33 | I8-97359 615-0 | BOLT; STRG SHAFT TO UNIT | 1 | 1512- | ALL | M8X30 | ||
| 172 | I8-98055 061-A | BRACKET; STRG | 1 | 1512- | ALL | (B) | ||
| 1 | I8-98101 297-3 | STEERING UNIT | 1 | 1512- | ALL | |||
| 203 | I8-98137 331-0 | BOOT; STRG COLUMN LWR | 1 | 1512- | ALL | |||
| 296 | I8-97868 409-0 | CLIP; COVER | 1 | 1512- | NMR71 | EXC. MANUAL TILT CAB | ||
| 172 | I8-98078 803-A | BRACKET; STRG | 1 | 1512- | ALL | (A) | ||
| 2 | I8-97405 355-8 | SHAFT ASM, STRG | 1 | 1512- | NLR | EXC. MANUAL TILT CAB | ||
| 66 | I0-72180 518-0 | BOLT, STRG COLUMN | 4 | 1512- | ALL | (A) M5X18 | ||
| 79 | I8-97002 822-1 | CLIP, STRG COLUMN COVER | 2 | 1512- | ALL | L=19 | ||
| 148 | I8-97329 625-0 | NUT, COLUMN TO BRKT | 3 | 1512- | ALL | M8 | ||
| 291 | I8-94463 268-A | GROMMET; STRG SHAFT COVER | 4 | 1512- | ALL | (A) H=15 | ||
| 102 | I8-98006 150-0 | LOCK ASM; STRG | 1 | 1512-2002 | ALL | |||
| 35 | I0-91510 808-0 | WASHER; L K, STRG SHAFT | 1 | 1512- | ALL | ID=8.2 | ||
| 66 | I0-72180 518-0 | BOLT; STRG COLUMN | 4 | 1512- | ALL | (A) M5X18 | ||
| 2 | I8-97418 801-2 | SHAFT ASM, STRG | 1 | 1512- | NMR71 | MANUAL TILT CAB | ||
| 251 | I8-97418 804-0 | COVER, LWR | 1 | 1512- | ALL | (A) MANUAL TILT CAB | ||
| 2 | I8-97418 803-1 | SHAFT ASM, STRG | 1 | 1807- | NMR81 | |||
| 95 | I8-98055 055-0 | BOLT, STRG UNIT | 4 | 1512- | ALL | M12X47 | ||
| 296 | I8-97868 409-0 | CLIP, COVER | 1 | 1512- | NMR71 | EXC. MANUAL TILT CAB | ||
| 2 | I8-97405 355-8 | SHAFT ASM, STRG | 1 | 1512- | NMR71 | EXC. MANUAL TILT CAB | ||
| 20 | I8-97405 159-0 | COVER; STRG SHAFT | 1 | 1512- | NLR | EXC. MANUAL TILT CAB | ||
| 231 | I8-98137 329-0 | SEAL, RUBBER, STRG COLUMN | 1 | 1512- | ALL | |||
| 2 | I8-97405 355-9 | SHAFT ASM; STRG | 1 | 1512- | NLR | EXC. MANUAL TILT CAB | ||
| 102 | I8-97556 659-0 | LOCK ASM, STRG | 1 | 2003- | ALL | |||
| 348 | I1-09709 287-0 | CLIP, BRKT, STRG | 1 | 1512- | ALL | (A) ID=5-12 L=18 | ||
| 103 | I8-97556 731-0 | SWITCH, IGNITION | 1 | 2003- | ALL | |||
| 291 | I8-98029 442-1 | GROMMET, STRG SHAFT COVER | 2 | 1512- | ALL | (B) H=11.2 | ||
| 251 | I8-97417 049-0 | COVER, LWR | 1 | 1512- | ALL | (B) EXC. MANUAL TILT CAB | ||
| 1 | I8-98101 297-5 | STEERING UNIT | 1 | 1512- | ALL | |||
| 172 | I8-98055 061-0 | BRACKET, STRG | 1 | 1512- | ALL | (B) | ||
| 79 | I8-97002 822-1 | CLIP; STRG COLUMN COVER | 2 | 1512- | ALL | L=19 | ||
| 33 | I8-97359 615-0 | BOLT, STRG SHAFT TO UNIT | 1 | 1512- | ALL | M8X30 | ||
| 96 | I8-97359 618-0 | NUT; STRG UNIT | 2 | 1512- | ALL | M12 | ||
| 20 | I8-97405 159-0 | COVER, STRG SHAFT | 1 | 1512- | NMR71 | EXC. MANUAL TILT CAB | ||
| 172 | I8-98078 803-0 | BRACKET, STRG | 1 | 1512- | ALL | (A) | ||
| 203 | I8-98137 331-0 | BOOT, STRG COLUMN LWR | 1 | 1512- | ALL | |||
| 102 | I8-98006 150-0 | LOCK ASM, STRG | 1 | 1512-2002 | ALL | |||
| 103 | I8-98045 349-0 | SWITCH, IGNITION | 1 | 1512-2002 | ALL | |||
| 296 | I8-97868 409-0 | CLIP; COVER | 1 | 1512- | NLR | EXC. MANUAL TILT CAB | ||
| 95 | I8-98055 055-0 | BOLT; STRG UNIT | 4 | 1512- | ALL | M12X47 | ||
| 2 | I8-97418 801-2 | SHAFT ASM, STRG | 1 | 1512- | NLR | MANUAL TILT CAB | ||
| 2 | I8-97405 355-8 | SHAFT ASM; STRG | 1 | 1512- | NMR71 | EXC. MANUAL TILT CAB | ||
| 66 | I0-28650 820-0 | BOLT; STRG COLUMN | 2 | 1512- | ALL | (B) M8X20 | ||
| 348 | I1-09709 287-0 | CLIP; BRKT, STRG | 1 | 1512- | ALL | (A) ID=5-12 L=18 | ||
| 20 | I8-97405 159-0 | COVER; STRG SHAFT | 1 | 1512- | NMR71 | EXC. MANUAL TILT CAB | ||
| 291 | I8-98029 442-1 | GROMMET; STRG SHAFT COVER | 2 | 1512- | ALL | (B) H=11.2 | ||
| 103 | I8-97556 731-0 | SWITCH; IGNITION | 1 | 2003- | ALL | |||
| 66 | I8-98051 939-0 | BOLT, STRG COLUMN | 2 | 1512- | ALL | (C) M8X24.5 | ||
| 66 | I0-28650 820-0 | BOLT, STRG COLUMN | 2 | 1512- | ALL | (B) M8X20 | ||
| 348 | I1-09709 288-0 | CLIP, BRKT, STRG | 1 | 1512- | ALL | (B) ID=5-12 L=22 | ||
| 102 | I8-97556 659-0 | LOCK ASM; STRG | 1 | 2003- | ALL | |||
| 2 | I8-97418 801-3 | SHAFT ASM; STRG | 1 | 1512- | NLR | MANUAL TILT CAB | ||
| 2 | I8-97418 803-2 | SHAFT ASM; STRG | 1 | 1807- | NMR81 |