| 3 |
I8-97696 239-A |
|
SPRING; LEAF, NO.3, FRT |
2 |
1512- |
|
NLR |
NLR55-Bx |
| 1 |
I8-97695 915-A |
|
SPRING, LEAF, NO.1, FRT |
2 |
1512- |
|
NMR71 |
NMR71T HD |
| 5 |
I8-95985 005-A |
|
SPRING, LEAF, NO.5, FRT, W/ CLIP |
1 |
1807- |
|
NMR81 |
|
| 1 |
I8-97695 830-A |
|
SPRING; LEAF, NO.1, FRT |
2 |
1512- |
|
NLR |
NLR55-B |
| 1 |
I7-65000 254-A |
|
SPRING, LEAF, NO.1, FRT |
2 |
1512- |
|
NMR71 |
NMR71T SDL |
| 5 |
I7-65000 258-A |
|
SPRING; LEAF, NO.5, FRT |
2 |
1512- |
|
NMR71 |
NMR71T SDL |
| 4 |
I7-65000 217-A |
|
SPRING, LEAF, NO.4, FRT |
2 |
1512- |
|
NLR |
NLR71-BL, NLR55B Lx |
| 15 |
I7-08508 142-A |
|
BOLT, CENTER, FRT |
2 |
1512- |
|
NLR |
NLR71-BL, NLR55B Lx |
| 2 |
I8-95985 002-A |
|
SPRING; LEAF, NO.2, FRT |
1 |
1807- |
|
NMR81 |
|
| 15 |
I7-98081 376-A |
|
BOLT, CENTER, FRT |
2 |
1512- |
|
NMR71 |
NMR71T SDL |
| 2 |
I8-97695 841-A |
|
SPRING, LEAF, NO.2, FRT |
2 |
1512- |
|
NLR |
NLR55-T |
| 15 |
I8-98063 771-A |
|
BOLT, CENTER, FRT |
2 |
1512- |
|
NLR |
|
| 5 |
I7-65000 218-A |
|
SPRING, LEAF, NO.5, FRT |
2 |
1512- |
|
NLR |
NLR71-BL, NLR55B Lx |
| 19 |
I7-06105 000-A |
|
SPACER, LEAF SPRING,FRT |
2 |
1512- |
|
NLR |
NLR55-Bx |
| 9 |
I6-97695 983-0 |
|
SPRING, LEAF, NO.9, FRT |
2 |
1512- |
|
NMR71 |
(IADG) NMR71T HD |
| 3 |
I7-65000 256-A |
|
SPRING, LEAF, NO.3, FRT |
2 |
1512- |
|
NMR71 |
NMR71T SDL |
| 3 |
I8-95985 003-A |
|
SPRING; LEAF, NO.3, FRT |
1 |
1807- |
|
NMR81 |
|
| 15 |
I8-98063 131-A |
|
BOLT; CENTER, FRT |
2 |
1512- |
|
NLR |
NLR55-T |
| 5 |
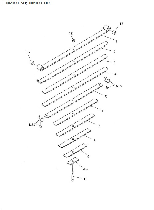
I8-97695 854-A |
|
SPRING; LEAF, NO.5, FRT |
2 |
1512- |
|
NLR |
NLR71-T; NLR71T-LWB; NLR55T Lx; NLR55Tx |
| 4 |
I7-65000 257-A |
|
SPRING; LEAF, NO.4, FRT |
2 |
1512- |
|
NMR71 |
NMR71T SDL |
| 3 |
I6-97695 917-0 |
|
SPRING; LEAF, NO.3, FRT |
2 |
1512- |
|
NMR71 |
(IADG) NMR71T HD |
| 15 |
I7-08508 142-A |
|
BOLT; CENTER, FRT |
2 |
1512- |
|
NLR |
NLR71-BL; NLR55B Lx |
| 59 |
I8-97021 214-A |
|
SPACER; LEAF SPR, FRT |
1 |
1807- |
|
NMR81 |
|
| 1 |
I6-97695 915-0 |
|
SPRING, LEAF, NO.1, FRT |
2 |
1512- |
|
NMR71 |
(IADG) NMR71T HD |
| 17 |
I8-98040 327-A |
|
BUSHING; LEAF SPR, FRT |
2 |
1512- |
|
NLR |
NLR55-B; NLR55-T |
| 7 |
I8-95985 007-A |
|
SPRING, LEAF, NO.7, FRT |
1 |
1807- |
|
NMR81 |
|
| 9 |
I8-97695 963-A |
|
SPRING, LEAF, NO.9, FRT |
2 |
1512- |
|
NMR71 |
NMR71T SD |
| 2 |
I7-65000 215-A |
|
SPRING, LEAF, NO.2, FRT |
2 |
1512- |
|
NLR |
NLR71-BL, NLR55B Lx |
| 4 |
I7-65000 217-A |
|
SPRING; LEAF, NO.4, FRT |
2 |
1512- |
|
NLR |
NLR71-BL; NLR55B Lx |
| 3 |
I8-95985 003-A |
|
SPRING, LEAF, NO.3, FRT |
1 |
1807- |
|
NMR81 |
|
| 17 |
I7-12271 733-A |
|
BUSHING, LEAF SPR, FRT |
1 |
1807- |
|
NMR81 |
|
| 5 |
I8-97696 241-A |
|
SPRING, LEAF, NO.5, FRT |
2 |
1512- |
|
NLR |
NLR55-Bx |
| 59 |
I7-00810 510-A |
|
SEAT, FRT SPRING |
2 |
1512- |
|
NMR71 |
NMR71T SDL |
| 17 |
I7-00007 155-A |
|
BUSHING; LEAF SPR, FRT |
2 |
1512- |
|
NMR71 |
NMR71T SD; NMR71T HD |
| 3 |
I7-65000 216-A |
|
SPRING; LEAF, NO.3, FRT |
2 |
1512- |
|
NLR |
NLR71-BL; NLR55B Lx |
| 4 |
I6-97695 918-0 |
|
SPRING; LEAF, NO.4, FRT |
2 |
1512- |
|
NMR71 |
(IADG) NMR71T HD |
| 4 |
I8-97695 853-A |
|
SPRING, LEAF, NO.4, FRT |
2 |
1512- |
|
NLR |
NLR71-T, NLR71T-LWB, NLR55T Lx, NLR55Tx |
| 5 |
I8-97695 959-A |
|
SPRING; LEAF, NO.5, FRT |
2 |
1512- |
|
NMR71 |
NMR71T SD |
| 9 |
I6-97695 983-0 |
|
SPRING; LEAF, NO.9, FRT |
2 |
1512- |
|
NMR71 |
(IADG) NMR71T HD |
| 17 |
I7-12271 733-A |
|
BUSHING; LEAF SPR, FRT |
1 |
1807- |
|
NMR81 |
|
| 4 |
I8-97695 958-A |
|
SPRING; LEAF, NO.4, FRT |
2 |
1512- |
|
NMR71 |
NMR71T SD |
| 6 |
I7-65000 219-A |
|
SPRING; LEAF, NO.6, FRT |
2 |
1512- |
|
NLR |
NLR71-BL; NLR55B Lx |
| 9 |
I8-97695 963-A |
|
SPRING; LEAF, NO.9, FRT |
2 |
1512- |
|
NMR71 |
NMR71T SD |
| 15 |
I8-94165 810-A |
|
BOLT, CENTER, FRT |
2 |
1512- |
|
NMR71 |
NMR71T SD, NMR71T HD |
| 6 |
I6-97695 980-0 |
|
SPRING; LEAF, NO.6, FRT |
2 |
1512- |
|
NMR71 |
(IADG) NMR71T HD |
| 8 |
I8-97695 982-A |
|
SPRING; LEAF, NO.8, FRT |
2 |
1512- |
|
NMR71 |
NMR71T HD |
| 2 |
I8-97696 238-A |
|
SPRING, LEAF, NO.2, FRT |
2 |
1512- |
|
NLR |
NLR55-Bx |
| 1 |
I8-95985 001-A |
|
SPRING; LEAF, NO.1, FRT |
1 |
1807- |
|
NMR81 |
|
| 1 |
I8-97695 915-A |
|
SPRING; LEAF, NO.1, FRT |
2 |
1512- |
|
NMR71 |
NMR71T HD |
| 15 |
I7-01412 810-A |
|
BOLT, CENTER, LEAF SPR, FRT |
1 |
1807- |
|
NMR81 |
W/ NUT |
| 3 |
I8-97695 917-A |
|
SPRING, LEAF, NO.3, FRT |
2 |
1512- |
|
NMR71 |
NMR71T HD |
| 4 |
I8-97695 843-A |
|
SPRING, LEAF, NO.4, FRT |
2 |
1512- |
|
NLR |
NLR55-T |
| 15 |
I8-94165 810-A |
|
BOLT; CENTER, FRT |
2 |
1512- |
|
NMR71 |
NMR71T SD; NMR71T HD |
| 1 |
I8-97696 237-A |
|
SPRING; LEAF, NO.1, FRT |
2 |
1512- |
|
NLR |
NLR55-Bx |
| 9 |
I8-95985 009-A |
|
SPRING; LEAF, NO.9, FRT |
1 |
1807- |
|
NMR81 |
|
| 17 |
I7-00254 371-A |
|
BUSHING, LEAF SPR, FRT |
2 |
1512- |
|
NMR71 |
NMR71T SDL |
| 59 |
I7-00810 510-A |
|
SEAT, RR SPRING |
2 |
1512- |
|
NLR |
(B) NLR71-BL, NLR55B Lx |
| 16 |
I1-09400 055-A |
|
NUT; CENTER BOLT, FRT |
2 |
1512- |
|
NLR |
|
| 2 |
I8-95985 002-A |
|
SPRING, LEAF, NO.2, FRT |
1 |
1807- |
|
NMR81 |
|
| 9 |
I8-97695 983-A |
|
SPRING, LEAF, NO.9, FRT |
2 |
1512- |
|
NMR71 |
NMR71T HD |
| 6 |
I6-97695 980-0 |
|
SPRING, LEAF, NO.6, FRT |
2 |
1512- |
|
NMR71 |
(IADG) NMR71T HD |
| 8 |
I7-65000 261-A |
|
SPRING; LEAF, NO.8, FRT |
2 |
1512- |
|
NMR71 |
NMR71T SDL |
| 1 |
I8-97696 237-A |
|
SPRING, LEAF, NO.1, FRT |
2 |
1512- |
|
NLR |
NLR55-Bx |
| 4 |
I8-97695 833-A |
|
SPRING, LEAF, NO.4, FRT |
2 |
1512- |
|
NLR |
NLR55-B |
| 2 |
I8-97695 831-A |
|
SPRING; LEAF, NO.2, FRT |
2 |
1512- |
|
NLR |
NLR55-B |
| 59 |
I7-00810 510-A |
|
SEAT; RR SPRING |
2 |
1512- |
|
NLR |
(B) NLR71-BL; NLR55B Lx |
| 8 |
I6-97695 982-0 |
|
SPRING, LEAF, NO.8, FRT |
2 |
1512- |
|
NMR71 |
(IADG) NMR71T HD |
| 6 |
I8-97695 960-A |
|
SPRING, LEAF, NO.6, FRT |
2 |
1512- |
|
NMR71 |
NMR71T SD |
| 16 |
I1-09400 055-A |
|
NUT, CENTER BOLT, FRT |
2 |
1512- |
|
NLR |
NLR71-BL, NLR55B Lx |
| 2 |
I8-97695 956-A |
|
SPRING, LEAF, NO.2, FRT |
2 |
1512- |
|
NMR71 |
NMR71T SD |
| 7 |
I6-97695 981-0 |
|
SPRING; LEAF, NO.7, FRT |
2 |
1512- |
|
NMR71 |
(IADG) NMR71T HD |
| 2 |
I7-65000 255-A |
|
SPRING, LEAF, NO.2, FRT |
2 |
1512- |
|
NMR71 |
NMR71T SDL |
| 8 |
I8-95985 008-A |
|
SPRING; LEAF, NO.8, FRT |
1 |
1807- |
|
NMR81 |
|
| 2 |
I8-97695 916-A |
|
SPRING; LEAF, NO.2, FRT |
2 |
1512- |
|
NMR71 |
NMR71T HD |
| 6 |
I8-97695 980-A |
|
SPRING; LEAF, NO.6, FRT |
2 |
1512- |
|
NMR71 |
NMR71T HD |
| 9 |
I8-95985 009-A |
|
SPRING, LEAF, NO.9, FRT |
1 |
1807- |
|
NMR81 |
|
| 15 |
I8-98063 131-A |
|
BOLT, CENTER, FRT |
2 |
1512- |
|
NLR |
NLR55-T |
| 2 |
I8-97696 238-A |
|
SPRING; LEAF, NO.2, FRT |
2 |
1512- |
|
NLR |
NLR55-Bx |
| 16 |
I1-09400 055-A |
|
NUT, CENTER BOLT, FRT |
2 |
1512- |
|
NLR |
|
| 5 |
I6-97695 979-0 |
|
SPRING; LEAF, NO.5, FRT |
2 |
1512- |
|
NMR71 |
(IADG) NMR71T HD |
| 4 |
I8-97696 240-A |
|
SPRING, LEAF, NO.4, FRT |
2 |
1512- |
|
NLR |
NLR55-Bx |
| 1 |
I6-97695 915-0 |
|
SPRING; LEAF, NO.1, FRT |
2 |
1512- |
|
NMR71 |
(IADG) NMR71T HD |
| 2 |
I8-97695 831-A |
|
SPRING, LEAF, NO.2, FRT |
2 |
1512- |
|
NLR |
NLR55-B |
| 3 |
I8-97695 842-A |
|
SPRING; LEAF, NO.3, FRT |
2 |
1512- |
|
NLR |
NLR55-T |
| 6 |
I8-95985 006-A |
|
SPRING, LEAF, NO.6, FRT |
1 |
1807- |
|
NMR81 |
|
| 5 |
I8-97695 844-A |
|
SPRING, LEAF, NO.5, FRT |
2 |
1512- |
|
NLR |
NLR55-T |
| 59 |
I7-00610 510-A |
|
SEAT; RR SPRING |
2 |
1512- |
|
NLR |
(A) NLR71-BL; NLR55B Lx |
| 1 |
I8-97695 840-A |
|
SPRING, LEAF, NO.1, FRT |
2 |
1512- |
|
NLR |
NLR55-T |
| 16 |
I1-09400 055-A |
|
NUT; CENTER BOLT, FRT |
2 |
1512- |
|
NLR |
NLR71-BL; NLR55B Lx |
| 4 |
I8-97695 833-A |
|
SPRING; LEAF, NO.4, FRT |
2 |
1512- |
|
NLR |
NLR55-B |
| 6 |
I8-97695 980-A |
|
SPRING, LEAF, NO.6, FRT |
2 |
1512- |
|
NMR71 |
NMR71T HD |
| 6 |
I7-65000 259-A |
|
SPRING; LEAF, NO.6, FRT |
2 |
1512- |
|
NMR71 |
NMR71T SDL |
| 3 |
I8-97695 917-A |
|
SPRING; LEAF, NO.3, FRT |
2 |
1512- |
|
NMR71 |
NMR71T HD |
| 7 |
I8-97695 961-A |
|
SPRING; LEAF, NO.7, FRT |
2 |
1512- |
|
NMR71 |
NMR71T SD |
| 5 |
I8-97696 241-A |
|
SPRING; LEAF, NO.5, FRT |
2 |
1512- |
|
NLR |
NLR55-Bx |
| 5 |
I8-97695 979-A |
|
SPRING; LEAF, NO.5, FRT |
2 |
1512- |
|
NMR71 |
NMR71T HD |
| 3 |
I8-97695 832-A |
|
SPRING, LEAF, NO.3, FRT |
2 |
1512- |
|
NLR |
NLR55-B |
| 1 |
I8-95985 001-A |
|
SPRING, LEAF, NO.1, FRT |
1 |
1807- |
|
NMR81 |
|
| 5 |
I8-97695 959-A |
|
SPRING, LEAF, NO.5, FRT |
2 |
1512- |
|
NMR71 |
NMR71T SD |
| 8 |
I6-97695 982-0 |
|
SPRING; LEAF, NO.8, FRT |
2 |
1512- |
|
NMR71 |
(IADG) NMR71T HD |
| 2 |
I8-97695 916-A |
|
SPRING, LEAF, NO.2, FRT |
2 |
1512- |
|
NMR71 |
NMR71T HD |
| 5 |
I6-97695 979-0 |
|
SPRING, LEAF, NO.5, FRT |
2 |
1512- |
|
NMR71 |
(IADG) NMR71T HD |
| 3 |
I7-65000 256-A |
|
SPRING; LEAF, NO.3, FRT |
2 |
1512- |
|
NMR71 |
NMR71T SDL |
| 5 |
I8-95985 005-A |
|
SPRING; LEAF, NO.5, FRT, W/ CLIP |
1 |
1807- |
|
NMR81 |
|
| 59 |
I8-97021 214-A |
|
SPACER, LEAF SPR, FRT |
1 |
1807- |
|
NMR81 |
|
| 3 |
I8-97696 239-A |
|
SPRING, LEAF, NO.3, FRT |
2 |
1512- |
|
NLR |
NLR55-Bx |
| 1 |
I8-97695 850-A |
|
SPRING, LEAF, NO.1, FRT |
2 |
1512- |
|
NLR |
NLR71-T, NLR71T-LWB, NLR55T Lx, NLR55Tx |
| 7 |
I8-97695 981-A |
|
SPRING, LEAF, NO.7, FRT |
2 |
1512- |
|
NMR71 |
NMR71T HD |
| 7 |
I8-95985 007-A |
|
SPRING; LEAF, NO.7, FRT |
1 |
1807- |
|
NMR81 |
|
| 8 |
I8-97695 962-A |
|
SPRING; LEAF, NO.8, FRT |
2 |
1512- |
|
NMR71 |
NMR71T SD |
| 4 |
I8-97695 853-A |
|
SPRING; LEAF, NO.4, FRT |
2 |
1512- |
|
NLR |
NLR71-T; NLR71T-LWB; NLR55T Lx; NLR55Tx |
| 3 |
I8-97695 842-A |
|
SPRING, LEAF, NO.3, FRT |
2 |
1512- |
|
NLR |
NLR55-T |
| 3 |
I8-97695 852-A |
|
SPRING, LEAF, NO.3, FRT |
2 |
1512- |
|
NLR |
NLR71-T, NLR71T-LWB, NLR55T Lx, NLR55Tx |
| 5 |
I8-97695 834-A |
|
SPRING; LEAF, NO.5, FRT |
2 |
1512- |
|
NLR |
NLR55-B |
| 4 |
I8-97696 240-A |
|
SPRING; LEAF, NO.4, FRT |
2 |
1512- |
|
NLR |
NLR55-Bx |
| 15 |
I8-98041 353-A |
|
BOLT, CENTER, FRT |
2 |
1512- |
|
NLR |
NLR55-B |
| 5 |
I8-97695 854-A |
|
SPRING, LEAF, NO.5, FRT |
2 |
1512- |
|
NLR |
NLR71-T, NLR71T-LWB, NLR55T Lx, NLR55Tx |
| 3 |
I8-97695 957-A |
|
SPRING, LEAF, NO.3, FRT |
2 |
1512- |
|
NMR71 |
NMR71T SD |
| 2 |
I6-97695 916-0 |
|
SPRING, LEAF, NO.2, FRT |
2 |
1512- |
|
NMR71 |
(IADG) NMR71T HD |
| 2 |
I8-97695 851-A |
|
SPRING, LEAF, NO.2, FRT |
2 |
1512- |
|
NLR |
NLR71-T, NLR71T-LWB, NLR55T Lx, NLR55Tx |
| 5 |
I8-97695 834-A |
|
SPRING, LEAF, NO.5, FRT |
2 |
1512- |
|
NLR |
NLR55-B |
| 4 |
I8-95985 004-A |
|
SPRING, LEAF, NO.4, FRT |
1 |
1807- |
|
NMR81 |
|
| 1 |
I8-97695 955-A |
|
SPRING, LEAF, NO.1, FRT |
2 |
1512- |
|
NMR71 |
NMR71T SD |
| 2 |
I7-65000 255-A |
|
SPRING; LEAF, NO.2, FRT |
2 |
1512- |
|
NMR71 |
NMR71T SDL |
| 3 |
I8-97695 832-A |
|
SPRING; LEAF, NO.3, FRT |
2 |
1512- |
|
NLR |
NLR55-B |
| 15 |
I8-98063 771-A |
|
BOLT; CENTER, FRT |
2 |
1512- |
|
NLR |
|
| 17 |
I7-00007 155-A |
|
BUSHING, LEAF SPR, FRT |
2 |
1512- |
|
NMR71 |
NMR71T SD, NMR71T HD |
| 59 |
I7-00810 510-A |
|
SEAT; FRT SPRING |
2 |
1512- |
|
NMR71 |
NMR71T SDL |
| 15 |
I7-01412 865-A |
|
BOLT; CENTER, FRT |
2 |
1512- |
|
NLR |
NLR55-Bx |
| 8 |
I8-95985 008-A |
|
SPRING, LEAF, NO.8, FRT |
1 |
1807- |
|
NMR81 |
|
| 7 |
I7-65000 260-A |
|
SPRING, LEAF, NO.7, FRT |
2 |
1512- |
|
NMR71 |
NMR71T SDL |
| 8 |
I8-97695 962-A |
|
SPRING, LEAF, NO.8, FRT |
2 |
1512- |
|
NMR71 |
NMR71T SD |
| 15 |
I7-01412 865-A |
|
BOLT, CENTER, FRT |
2 |
1512- |
|
NLR |
NLR55-Bx |
| 15 |
I7-98081 376-A |
|
BOLT; CENTER, FRT |
2 |
1512- |
|
NMR71 |
NMR71T SDL |
| 17 |
I6-00007 155-0 |
|
BUSHING, LEAF SPR, FRT |
2 |
1512- |
|
NMR71 |
(IADG) NMR71T SD, NMR71T HD |
| 17 |
I8-98040 327-A |
|
BUSHING, LEAF SPR, FRT |
2 |
1512- |
|
NLR |
NLR55-B, NLR55-T |
| 17 |
I8-98040 328-A |
|
BUSHING, LEAF SPR, FRT |
2 |
1512- |
|
NLR |
|
| 17 |
I7-39842 053-A |
|
BUSHING, LEAF SPR, FRT |
2 |
1512- |
|
NLR |
NLR71-BL, NLR55B Lx |
| 2 |
I8-97695 956-A |
|
SPRING; LEAF, NO.2, FRT |
2 |
1512- |
|
NMR71 |
NMR71T SD |
| 6 |
I7-65000 259-A |
|
SPRING, LEAF, NO.6, FRT |
2 |
1512- |
|
NMR71 |
NMR71T SDL |
| 1 |
I8-97695 830-A |
|
SPRING, LEAF, NO.1, FRT |
2 |
1512- |
|
NLR |
NLR55-B |
| 6 |
I8-95985 006-A |
|
SPRING; LEAF, NO.6, FRT |
1 |
1807- |
|
NMR81 |
|
| 2 |
I6-97695 916-0 |
|
SPRING; LEAF, NO.2, FRT |
2 |
1512- |
|
NMR71 |
(IADG) NMR71T HD |
| 17 |
I7-39842 053-A |
|
BUSHING; LEAF SPR, FRT |
2 |
1512- |
|
NLR |
NLR71-BL; NLR55B Lx |
| 1 |
I7-65000 214-A |
|
SPRING; LEAF, NO.1, FRT |
2 |
1512- |
|
NLR |
NLR71-BL; NLR55B Lx |
| 19 |
I7-06105 000-A |
|
SPACER; LEAF SPRING,FRT |
2 |
1512- |
|
NLR |
NLR55-Bx |
| 4 |
I7-65000 257-A |
|
SPRING, LEAF, NO.4, FRT |
2 |
1512- |
|
NMR71 |
NMR71T SDL |
| 3 |
I7-65000 216-A |
|
SPRING, LEAF, NO.3, FRT |
2 |
1512- |
|
NLR |
NLR71-BL, NLR55B Lx |
| 4 |
I8-97695 918-A |
|
SPRING; LEAF, NO.4, FRT |
2 |
1512- |
|
NMR71 |
NMR71T HD |
| 6 |
I8-97695 960-A |
|
SPRING; LEAF, NO.6, FRT |
2 |
1512- |
|
NMR71 |
NMR71T SD |
| 6 |
I8-97695 855-A |
|
SPRING, LEAF, NO.6, FRT |
2 |
1512- |
|
NLR |
NLR71-T, NLR71T-LWB, NLR55T Lx, NLR55Tx |
| 4 |
I8-97695 843-A |
|
SPRING; LEAF, NO.4, FRT |
2 |
1512- |
|
NLR |
NLR55-T |
| 4 |
I8-97695 918-A |
|
SPRING, LEAF, NO.4, FRT |
2 |
1512- |
|
NMR71 |
NMR71T HD |
| 15 |
I8-98041 353-A |
|
BOLT; CENTER, FRT |
2 |
1512- |
|
NLR |
NLR55-B |
| 1 |
I8-97695 955-A |
|
SPRING; LEAF, NO.1, FRT |
2 |
1512- |
|
NMR71 |
NMR71T SD |
| 2 |
I8-97695 851-A |
|
SPRING; LEAF, NO.2, FRT |
2 |
1512- |
|
NLR |
NLR71-T; NLR71T-LWB; NLR55T Lx; NLR55Tx |
| 59 |
I7-00610 510-A |
|
SEAT, RR SPRING |
2 |
1512- |
|
NLR |
(A) NLR71-BL, NLR55B Lx |
| 1 |
I7-65000 214-A |
|
SPRING, LEAF, NO.1, FRT |
2 |
1512- |
|
NLR |
NLR71-BL, NLR55B Lx |
| 5 |
I8-97695 844-A |
|
SPRING; LEAF, NO.5, FRT |
2 |
1512- |
|
NLR |
NLR55-T |
| 5 |
I7-65000 258-A |
|
SPRING, LEAF, NO.5, FRT |
2 |
1512- |
|
NMR71 |
NMR71T SDL |
| 7 |
I6-97695 981-0 |
|
SPRING, LEAF, NO.7, FRT |
2 |
1512- |
|
NMR71 |
(IADG) NMR71T HD |
| 8 |
I7-65000 261-A |
|
SPRING, LEAF, NO.8, FRT |
2 |
1512- |
|
NMR71 |
NMR71T SDL |
| 17 |
I6-00007 155-0 |
|
BUSHING; LEAF SPR, FRT |
2 |
1512- |
|
NMR71 |
(IADG) NMR71T SD; NMR71T HD |
| 17 |
I7-12271 733-A |
|
BUSHING; LEAF SPR, FRT |
2 |
1512- |
|
NLR |
NLR55-Bx |
| 9 |
I7-65000 262-A |
|
SPRING, LEAF, NO.9, FRT |
2 |
1512- |
|
NMR71 |
NMR71T SDL |
| 17 |
I7-12271 733-A |
|
BUSHING, LEAF SPR, FRT |
2 |
1512- |
|
NLR |
NLR55-Bx |
| 2 |
I8-97695 841-A |
|
SPRING; LEAF, NO.2, FRT |
2 |
1512- |
|
NLR |
NLR55-T |
| 17 |
I7-00254 371-A |
|
BUSHING; LEAF SPR, FRT |
2 |
1512- |
|
NMR71 |
NMR71T SDL |
| 7 |
I8-97695 981-A |
|
SPRING; LEAF, NO.7, FRT |
2 |
1512- |
|
NMR71 |
NMR71T HD |
| 6 |
I8-97695 855-A |
|
SPRING; LEAF, NO.6, FRT |
2 |
1512- |
|
NLR |
NLR71-T; NLR71T-LWB; NLR55T Lx; NLR55Tx |
| 4 |
I8-95985 004-A |
|
SPRING; LEAF, NO.4, FRT |
1 |
1807- |
|
NMR81 |
|
| 17 |
I8-98040 328-A |
|
BUSHING; LEAF SPR, FRT |
2 |
1512- |
|
NLR |
|
| 1 |
I7-65000 254-A |
|
SPRING; LEAF, NO.1, FRT |
2 |
1512- |
|
NMR71 |
NMR71T SDL |
| 3 |
I6-97695 917-0 |
|
SPRING, LEAF, NO.3, FRT |
2 |
1512- |
|
NMR71 |
(IADG) NMR71T HD |
| 2 |
I7-65000 215-A |
|
SPRING; LEAF, NO.2, FRT |
2 |
1512- |
|
NLR |
NLR71-BL; NLR55B Lx |
| 9 |
I8-97695 983-A |
|
SPRING; LEAF, NO.9, FRT |
2 |
1512- |
|
NMR71 |
NMR71T HD |
| 15 |
I7-01412 810-A |
|
BOLT; CENTER, LEAF SPR, FRT |
1 |
1807- |
|
NMR81 |
W/ NUT |
| 4 |
I6-97695 918-0 |
|
SPRING, LEAF, NO.4, FRT |
2 |
1512- |
|
NMR71 |
(IADG) NMR71T HD |
| 8 |
I8-97695 982-A |
|
SPRING, LEAF, NO.8, FRT |
2 |
1512- |
|
NMR71 |
NMR71T HD |
| 9 |
I7-65000 262-A |
|
SPRING; LEAF, NO.9, FRT |
2 |
1512- |
|
NMR71 |
NMR71T SDL |
| 3 |
I8-97695 852-A |
|
SPRING; LEAF, NO.3, FRT |
2 |
1512- |
|
NLR |
NLR71-T; NLR71T-LWB; NLR55T Lx; NLR55Tx |
| 4 |
I8-97695 958-A |
|
SPRING, LEAF, NO.4, FRT |
2 |
1512- |
|
NMR71 |
NMR71T SD |
| 6 |
I7-65000 219-A |
|
SPRING, LEAF, NO.6, FRT |
2 |
1512- |
|
NLR |
NLR71-BL, NLR55B Lx |
| 16 |
I1-09400 055-A |
|
NUT; CENTER BOLT, FRT |
2 |
1512- |
|
NLR |
NLR55-B; NLR55-T |
| 7 |
I8-97695 961-A |
|
SPRING, LEAF, NO.7, FRT |
2 |
1512- |
|
NMR71 |
NMR71T SD |
| 5 |
I8-97695 979-A |
|
SPRING, LEAF, NO.5, FRT |
2 |
1512- |
|
NMR71 |
NMR71T HD |
| 1 |
I8-97695 850-A |
|
SPRING; LEAF, NO.1, FRT |
2 |
1512- |
|
NLR |
NLR71-T; NLR71T-LWB; NLR55T Lx; NLR55Tx |
| 5 |
I7-65000 218-A |
|
SPRING; LEAF, NO.5, FRT |
2 |
1512- |
|
NLR |
NLR71-BL; NLR55B Lx |
| 3 |
I8-97695 957-A |
|
SPRING; LEAF, NO.3, FRT |
2 |
1512- |
|
NMR71 |
NMR71T SD |
| 7 |
I7-65000 260-A |
|
SPRING; LEAF, NO.7, FRT |
2 |
1512- |
|
NMR71 |
NMR71T SDL |
| 1 |
I8-97695 840-A |
|
SPRING; LEAF, NO.1, FRT |
2 |
1512- |
|
NLR |
NLR55-T |