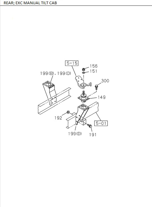
5-10 | CAB MOUNTING, FRAME SIDE
ELF
NLR55 NMR71
| Key | PART NO | ITC | DESCRIPTION | QTY | APP DATE | LR | MODEL | REMARKS |
|---|---|---|---|---|---|---|---|---|
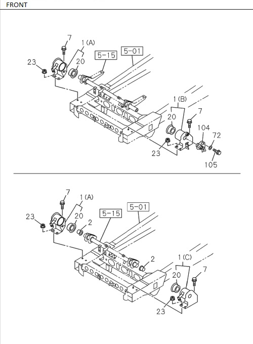
| 105 | I0-28661 435-0 | BOLT, BRKT TO CAB FRAME | 1 | 1512- | ALL | MANUAL TILT CAB M14X35 | ||
| 199 | I8-98036 883-0 | BRACKET; CAB RR MTG | 2 | 1512- | ALL | (A) MANUAL TILT CAB | ||
| 199 | I8-97695 766-A | BRACKET, CAB RR MTG | 1 | 1512- | R | NLR | (B) MANUAL TILT CAB | |
| 1 | I8-98197 476-0 | BRACKET; CAB MTG | 1 | 1807- | L | NMR81 | (B) | |
| 199 | I8-97493 133-0 | BRACKET; CAB RR MTG | 1 | 1807- | R | NMR81 | (B) | |
| 23 | I8-98039 989-0 | NUT, MTG BRKT | 6 | 1512- | ALL | M14 | ||
| 151 | I8-97359 042-1 | WASHER; CAB MTG, RR UPR | 2 | 1512- | ALL | (A) MANUAL TILT CAB; ID=17 OD=62 | ||
| 156 | I0-91180 114-0 | NUT; CAB MTG RR | 2 | 1512- | ALL | (B) EXC. MANUAL TILT CAB; M14 | ||
| 72 | I0-91614 714-0 | WASHER, PL, BRKT TO FRAME | 1 | 1512- | ALL | MANUAL TILT CAB, ID=15 OD=36 | ||
| 192 | I0-91180 112-0 | NUT; BRKT FIX | 8 | 1512- | ALL | M12 | ||
| 20 | I8-98007 037-1 | RUBBER; MTG, CAB BRKT | 1 | 1512- | ALL | |||
| 199 | I8-97695 767-A | BRACKET; CAB RR MTG | 1 | 1512- | L | NLR | (C) MANUAL TILT CAB | |
| 199 | I8-97695 766-A | BRACKET; CAB RR MTG | 1 | 1512- | R | NLR | (B) MANUAL TILT CAB | |
| 199 | I8-97493 134-0 | BRACKET; CAB RR MTG | 1 | 1807- | L | NMR81 | (C) | |
| 1 | I8-98021 410-5 | BRACKET, CAB MTG | 1 | 1512- | L | NMR71 | (B) MANUAL TILT CAB | |
| 156 | I0-91111 516-0 | NUT; CAB MTG RR | 2 | 1512- | NMR | (A) MANUAL TILT CAB; M16 | ||
| 149 | I8-98038 868-0 | RUBBER, MTG, CAB, UPR RR | 2 | 1512- | NMR71 | (B) EXC. MANUAL TILT CAB, H=94 | ||
| 159 | I8-97113 340-0 | RUBBER; CUSHION, CAB MTG | 4 | 1512- | ALL | MANUAL TILT CAB | ||
| 1 | I8-98197 476-0 | BRACKET, CAB MTG | 1 | 1807- | L | NMR81 | (B) | |
| 159 | I8-97113 340-0 | RUBBER, CUSHION, CAB MTG | 4 | 1512- | ALL | MANUAL TILT CAB | ||
| 199 | I8-97695 766-A | BRACKET; CAB RR MTG | 1 | 1512- | R | NMR71 | (B) MANUAL TILT CAB | |
| 199 | I8-97695 767-A | BRACKET; CAB RR MTG | 1 | 1512- | L | NMR71 | (C) MANUAL TILT CAB | |
| 199 | I8-97695 767-A | BRACKET, CAB RR MTG | 1 | 1512- | L | NLR | (C) MANUAL TILT CAB | |
| 1 | I8-98021 407-6 | BRACKET; CAB MTG | 1 | 1512- | R | NLR | (A) | |
| 199 | I8-97695 767-A | BRACKET, CAB RR MTG | 1 | 1512- | L | NMR71 | (C) MANUAL TILT CAB | |
| 2 | I8-97061 514-0 | BUSHING, TORISON BAR | 2 | 1512- | NMR71 | EXC. MANUAL TILT CAB | ||
| 1 | I8-98197 478-0 | BRACKET, CAB MTG | 1 | 1807- | R | NMR81 | (A) | |
| 1 | I8-98021 410-5 | BRACKET; CAB MTG | 1 | 1512- | L | NMR71 | (B) MANUAL TILT CAB | |
| 199 | I8-97695 766-A | BRACKET; CAB RR MTG | 2 | 1512- | NLR | (B) EXC. MANUAL TILT CAB | ||
| 1 | I8-98021 410-5 | BRACKET, CAB MTG | 1 | 1512- | L | NLR | (B) MANUAL TILT CAB | |
| 149 | I8-98021 561-1 | RUBBER, MTG, CAB, UPR RR | 2 | 1512- | ALL | (A) MANUAL TILT CAB, H=62 | ||
| 1 | I8-98021 410-5 | BRACKET; CAB MTG | 1 | 1512- | L | NLR | (B) MANUAL TILT CAB | |
| 1 | I8-98021 408-5 | BRACKET; CAB MTG | 1 | 1512- | L | NMR71 | (B) EXC. MANUAL TILT CAB | |
| 72 | I0-91614 714-0 | WASHER; PL, BRKT TO FRAME | 1 | 1512- | ALL | MANUAL TILT CAB; ID=15 OD=36 | ||
| 199 | I8-98036 883-0 | BRACKET, CAB RR MTG | 2 | 1512- | ALL | (A) MANUAL TILT CAB | ||
| 191 | I0-28651 235-0 | BOLT; BRKT FIX | 8 | 1512- | ALL | M12X35 | ||
| 105 | I0-28661 435-0 | BOLT; BRKT TO CAB FRAME | 1 | 1512- | ALL | MANUAL TILT CAB M14X35 | ||
| 1 | I8-98021 407-6 | BRACKET, CAB MTG | 1 | 1512- | R | NMR71 | (A) | |
| 151 | I8-97359 040-1 | WASHER; CAB MTG, RR UPR | 2 | 1512- | NLR | (B) EXC. MANUAL TILT CAB; ID=16.5 OD=58 | ||
| 300 | I0-28651 020-0 | BOLT, MTG RUBBER | 8 | 1512- | ALL | M10X20 | ||
| 199 | I8-97695 766-A | BRACKET; CAB RR MTG | 2 | 1512- | NMR71 | (B) EXC. MANUAL TILT CAB | ||
| 149 | I8-98038 868-0 | RUBBER; MTG, CAB, UPR RR | 2 | 1512- | NMR71 | (B) EXC. MANUAL TILT CAB; H=94 | ||
| 168 | I0-91180 108-0 | NUT, CUSHION RUBBER, BODY MTG | 4 | 1512- | ALL | MANUAL TILT CAB, M8 | ||
| 191 | I0-28651 235-0 | BOLT, BRKT FIX | 8 | 1512- | ALL | M12X35 | ||
| 149 | I8-98038 868-0 | RUBBER; MTG, CAB, UPR RR | 2 | 1512- | NLR | (B) EXC. MANUAL TILT CAB; H=94 | ||
| 149 | I8-98021 561-1 | RUBBER; MTG, CAB, UPR RR | 2 | 1512- | ALL | (A) MANUAL TILT CAB; H=62 | ||
| 7 | I0-28661 440-0 | BOLT; BRKT, CAB TILT | 6 | 1512- | ALL | M14X40 | ||
| 199 | I8-97695 766-A | BRACKET, CAB RR MTG | 1 | 1512- | R | NMR71 | (B) MANUAL TILT CAB | |
| 23 | I8-98039 989-0 | NUT; MTG BRKT | 6 | 1512- | ALL | M14 | ||
| 1 | I8-98021 407-6 | BRACKET, CAB MTG | 1 | 1512- | R | NLR | (A) | |
| 168 | I0-91180 108-0 | NUT; CUSHION RUBBER, BODY MTG | 4 | 1512- | ALL | MANUAL TILT CAB; M8 | ||
| 1 | I8-98021 408-5 | BRACKET, CAB MTG | 1 | 1512- | L | NMR71 | (B) EXC. MANUAL TILT CAB | |
| 151 | I8-97359 040-1 | WASHER; CAB MTG, RR UPR | 2 | 1512- | NMR71 | (B) EXC. MANUAL TILT CAB; ID=16.5 OD=58 | ||
| 151 | I8-97359 040-1 | WASHER, CAB MTG, RR UPR | 2 | 1512- | NMR71 | (B) EXC. MANUAL TILT CAB, ID=16.5 OD=58 | ||
| 104 | I8-97383 788-1 | BRACKET, CAB FRAME, CAB FRT MTG | 1 | 1512- | ALL | MANUAL TILT CAB | ||
| 104 | I8-97832 743-0 | BRACKET; CAB FRAME, CAB FRT MTG | 1 | 1512- | ALL | MANUAL TILT CAB | ||
| 300 | I0-28651 020-0 | BOLT; MTG RUBBER | 8 | 1512- | ALL | M10X20 | ||
| 151 | I8-97359 042-1 | WASHER, CAB MTG, RR UPR | 2 | 1512- | ALL | (A) MANUAL TILT CAB, ID=17 OD=62 | ||
| 156 | I0-91180 114-0 | NUT, CAB MTG RR | 2 | 1512- | ALL | (B) EXC. MANUAL TILT CAB, M14 | ||
| 1 | I8-98021 408-5 | BRACKET, CAB MTG | 1 | 1512- | L | NLR | (B) EXC. MANUAL TILT CAB | |
| 199 | I8-97493 133-0 | BRACKET, CAB RR MTG | 1 | 1807- | R | NMR81 | (B) | |
| 20 | I8-98007 037-1 | RUBBER, MTG, CAB BRKT | 1 | 1512- | ALL | |||
| 1 | I8-98197 478-0 | BRACKET; CAB MTG | 1 | 1807- | R | NMR81 | (A) | |
| 1 | I8-98021 408-5 | BRACKET; CAB MTG | 1 | 1512- | L | NLR | (B) EXC. MANUAL TILT CAB | |
| 199 | I8-97493 134-0 | BRACKET, CAB RR MTG | 1 | 1807- | L | NMR81 | (C) | |
| 1 | I8-98021 407-6 | BRACKET; CAB MTG | 1 | 1512- | R | NMR71 | (A) | |
| 192 | I0-91180 112-0 | NUT, BRKT FIX | 8 | 1512- | ALL | M12 | ||
| 2 | I8-97061 514-0 | BUSHING; TORISON BAR | 2 | 1512- | NLR | EXC. MANUAL TILT CAB | ||
| 156 | I0-91111 516-0 | NUT, CAB MTG RR | 2 | 1512- | NMR | (A) MANUAL TILT CAB, M16 | ||
| 7 | I0-28661 440-0 | BOLT, BRKT, CAB TILT | 6 | 1512- | ALL | M14X40 | ||
| 2 | I8-97061 514-0 | BUSHING; TORISON BAR | 2 | 1512- | NMR71 | EXC. MANUAL TILT CAB |