| 144 |
I8-97853 066-4 |
|
BRACKET ASM, CAB RR MTG |
2 |
1512- |
|
NMR71 |
EXC. MANUAL TILT CAB |
| 92 |
I8-97385 586-1 |
|
BRACKET; CAB STAY TO FRAME |
1 |
1512- |
|
ALL |
MANUAL TILT CAB |
| 102 |
I0-91610 612-0 |
|
WASHER; PL, CAB STAY |
1 |
1512- |
|
ALL |
MANUAL TILT CAB; ID=12.5 OD=26 |
| 152 |
I1-76798 029-0 |
|
GROMMET; DUMMY HOLE, CAB TILT LOCK |
2 |
1512- |
|
NMR71 |
EXC. MANUAL TILT CAB; OD=25 BLACK |
| 141 |
I8-98039 045-1 |
|
PIN, SNAP, CAB LOCK ROD |
1 |
1512- |
|
ALL |
(B) MANUAL TILT CAB, L=25.3 |
| 143 |
I0-91110 510-0 |
|
NUT, JAW JOINT, HOOK TO HOOK |
2 |
1512- |
|
ALL |
MANUAL TILT CAB, M10 |
| 144 |
I8-97853 066-4 |
|
BRACKET ASM; CAB RR MTG |
2 |
1512- |
|
NMR71 |
EXC. MANUAL TILT CAB |
| 1 |
I8-98001 434-0 |
|
LEVER; TORSION BAR |
1 |
1512- |
|
NLR |
EXC. MANUAL TILT CAB |
| 15 |
I8-97359 034-0 |
|
RING; SNAP, TORSION BAR |
1 |
1512- |
|
ALL |
MANUAL TILT CAB |
| 133 |
I0-28651 030-0 |
|
LOCK ASM; CAB |
1 |
1512- |
L |
NMR71 |
(B) MANUAL TILT CAB |
| 104 |
I0-28660 820-0 |
|
BOLT; CAB STAY BRKT |
3 |
1512- |
|
ALL |
MANUAL TILT CAB; M8X20 |
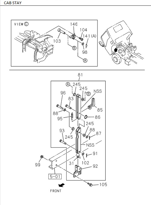
| 88 |
I0-91610 610-0 |
|
WASHER; PL, CAB STAY PIN |
2 |
1512- |
|
ALL |
MANUAL TILT CAB; ID=10.5 OD=22 T=1.6 |
| 245 |
I1-62500 587-0 |
|
BUSHING, CAB STAY |
4 |
1512- |
|
ALL |
MANUAL TILT CAB |
| 1 |
I8-98001 433-2 |
|
LEVER, TORSION BAR |
1 |
1512- |
|
NMR71 |
MANUAL TILT CAB |
| 311 |
I8-98031 126-A |
|
SEAL; CAB LOCK |
1 |
1512- |
|
ALL |
OD=32 BLACK |
| 138 |
I0-28650 820-0 |
|
BOLT; CAB LOCK CONT UNIT |
3 |
1512- |
|
ALL |
MANUAL TILT CAB; M8X20 |
| 95 |
I8-94160 167-2 |
|
SPRING; RETRUN, CAB STAY |
1 |
1512- |
|
ALL |
MANUAL TILT CAB |
| 98 |
I1-09985 183-0 |
|
WASHER, CAB STAY |
1 |
1512- |
|
ALL |
MANUAL TILT CAB, ID=10.5 T=2.0 |
| 136 |
I0-28650 820-0 |
|
BOLT; CAB LK |
4 |
1512- |
|
ALL |
MANUAL TILT CAB; M8X20 |
| 1 |
I8-98197 474-0 |
|
LEVER, TORSION BAR |
1 |
1512- |
|
NMR81 |
MANUAL TILT CAB |
| 139 |
I8-98128 201-0 |
|
ROD; CAB LOCK, LEVER TO HOOK |
1 |
1512- |
|
ALL |
(B) MANUAL TILT CAB |
| 133 |
I8-98182 353-1 |
|
LOCK ASM; CAB |
1 |
1512- |
R |
ALL |
(A) MANUAL TILT CAB |
| 139 |
I8-97584 483-2 |
|
ROD, CAB LOCK, LEVER TO HOOK |
1 |
1512-2106 |
|
ALL |
(A) MANUAL TILT CAB |
| 141 |
I8-98062 280-0 |
|
PIN, SNAP, CAB LOCK ROD |
1 |
1704- |
|
ALL |
(A) MANUAL TILT CAB, L=32.6 |
| 88 |
I0-91610 610-0 |
|
WASHER, PL, CAB STAY PIN |
2 |
1512- |
|
ALL |
MANUAL TILT CAB, ID=10.5 OD=22 T=1.6 |
| 1 |
I8-98001 433-2 |
|
LEVER; TORSION BAR |
1 |
1512- |
|
NMR71 |
MANUAL TILT CAB |
| 311 |
I8-98031 126-0 |
|
SEAL, CAB LOCK |
1 |
1512- |
|
ALL |
OD=32 BLACK |
| 1 |
I8-98001 433-2 |
|
LEVER; TORSION BAR |
1 |
1512- |
|
NLR |
MANUAL TILT CAB |
| 335 |
I8-98060 839-0 |
|
WASHER; CAB LOCK ROD |
3 |
1512- |
|
ALL |
(C) MANUAL TILT CAB; ID=13 OD=22 |
| 335 |
I8-98060 839-0 |
|
WASHER, CAB LOCK ROD |
3 |
1512- |
|
ALL |
(C) MANUAL TILT CAB, ID=13 OD=22 |
| 145 |
I8-98051 939-0 |
|
BOLT, CAB RR MTG BRKT |
12 |
1512- |
|
NMR71 |
EXC. MANUAL TILT CAB, M8X24.5 |
| 146 |
I8-98197 473-0 |
|
BRACKET ASM; CAB STAY UPR |
1 |
1512- |
|
ALL |
MANUAL TILT CAB |
| 152 |
I1-76798 029-0 |
|
GROMMET, DUMMY HOLE, CAB TILT LOCK |
2 |
1512- |
|
NMR71 |
EXC. MANUAL TILT CAB, OD=25 BLACK |
| 98 |
I1-09985 183-0 |
|
WASHER; CAB STAY |
1 |
1512- |
|
ALL |
MANUAL TILT CAB; ID=10.5 T=2.0 |
| 81 |
I8-98123 313-0 |
|
STAY ASM, CAB TILT |
1 |
1512- |
|
ALL |
MANUAL TILT CAB |
| 96 |
I8-98123 513-0 |
|
PIN, JOINT |
1 |
1512- |
|
ALL |
MANUAL TILT CAB |
| 1 |
I8-98001 434-0 |
|
LEVER, TORSION BAR |
1 |
1512- |
|
NLR |
EXC. MANUAL TILT CAB |
| 152 |
I1-76798 029-0 |
|
GROMMET; DUMMY HOLE, CAB TILT LOCK |
2 |
1512- |
|
NLR |
EXC. MANUAL TILT CAB; OD=25 BLACK |
| 3 |
I8-97359 033-0 |
|
BOLT, LEVER |
6 |
1512- |
|
ALL |
M12X37 |
| 103 |
I1-09744 107-0 |
|
PIN, JOINT, CAB STAY |
1 |
1512- |
|
ALL |
MANUAL TILT CAB, OD=10 L=48 |
| 148 |
I8-97410 736-0 |
|
JOINY, HAW, HOOK TO HOOK |
1 |
1512- |
|
ALL |
MANUAL TILT CAB |
| 86 |
I0-91805 506-0 |
|
RING, SNAP, LOCK LEVER, CAB STAY |
1 |
1512- |
|
ALL |
MANUAL TILT CAB, ID=6 |
| 81 |
I8-98123 313-0 |
|
STAY ASM; CAB TILT |
1 |
1512- |
|
ALL |
MANUAL TILT CAB |
| 245 |
I1-62500 587-0 |
|
BUSHING; CAB STAY |
4 |
1512- |
|
ALL |
MANUAL TILT CAB |
| 12 |
I8-98001 520-0 |
|
BAR; TORSION, UPR |
1 |
1512- |
|
ALL |
MANUAL TILT CAB |
| 103 |
I1-09744 107-0 |
|
PIN; JOINT, CAB STAY |
1 |
1512- |
|
ALL |
MANUAL TILT CAB; OD=10 L=48 |
| 83 |
I8-98122 493-0 |
|
PIN; JOINT, CAB STAY |
1 |
1512- |
|
ALL |
MANUAL TILT CAB |
| 91 |
I0-81124 020-0 |
|
PIN; SPLIT, CAB STAY |
1 |
1512- |
|
ALL |
MANUAL TILT CAB; OD=3.7 L=20 |
| 137 |
I8-97411 004-3 |
|
CONTROL UNIT, CAB LOCK |
1 |
1512- |
|
ALL |
MANUAL TILT CAB |
| 93 |
I8-98122 498-0 |
|
PIN; CAB STAY |
1 |
1512- |
|
ALL |
MANUAL TILT CAB |
| 212 |
I0-91180 108-0 |
|
NUT; BRKT, CAB LOCK |
4 |
1512- |
|
ALL |
MANUAL TILT CAB; M8 |
| 105 |
I0-28651 030-0 |
|
BOLT, CAB STAY |
2 |
1512- |
|
ALL |
MANUAL TILT CAB, M10X30 |
| 91 |
I0-81124 020-0 |
|
PIN, SPLIT, CAB STAY |
1 |
1512- |
|
ALL |
MANUAL TILT CAB, OD=3.7 L=20 |
| 93 |
I8-98122 498-0 |
|
PIN, CAB STAY |
1 |
1512- |
|
ALL |
MANUAL TILT CAB |
| 141 |
I8-98039 426-1 |
|
PIN; SNAP, CAB LOCK ROD |
3 |
1512- |
|
ALL |
(C) MANUAL TILT CAB; L=34 |
| 141 |
I8-98039 426-1 |
|
PIN, SNAP, CAB LOCK ROD |
3 |
1512- |
|
ALL |
(C) MANUAL TILT CAB, L=34 |
| 15 |
I8-97359 034-0 |
|
RING, SNAP, TORSION BAR |
1 |
1512- |
|
ALL |
MANUAL TILT CAB |
| 133 |
I8-97410 270-3 |
|
LOCK ASM, CAB |
1 |
1807- |
L |
NMR81 |
(B) |
| 139 |
I8-97584 483-2 |
|
ROD; CAB LOCK, LEVER TO HOOK |
1 |
1512-2106 |
|
ALL |
(A) MANUAL TILT CAB |
| 142 |
I8-97410 272-0 |
|
ROD, HOOK TO HOOK |
1 |
1512- |
|
ALL |
MANUAL TILT CAB |
| 143 |
I0-91110 510-0 |
|
NUT; JAW JOINT, HOOK TO HOOK |
2 |
1512- |
|
ALL |
MANUAL TILT CAB; M10 |
| 133 |
I0-28651 030-0 |
|
LOCK ASM; CAB |
1 |
1512- |
L |
NLR |
(B) MANUAL TILT CAB |
| 133 |
I0-28651 030-0 |
|
LOCK ASM, CAB |
1 |
1512- |
L |
NMR71 |
(B) MANUAL TILT CAB |
| 1 |
I8-98197 474-0 |
|
LEVER; TORSION BAR |
1 |
1512- |
|
NMR81 |
MANUAL TILT CAB |
| 212 |
I0-91180 108-0 |
|
NUT, BRKT, CAB LOCK |
4 |
1512- |
|
ALL |
MANUAL TILT CAB, M8 |
| 87 |
I0-81123 020-0 |
|
PIN; SPLIT, CAB STAY PIN |
1 |
1512- |
|
ALL |
MANUAL TILT CAB; OD=2.8 L=20 |
| 133 |
I8-98182 353-1 |
|
LOCK ASM, CAB |
1 |
1512- |
R |
ALL |
(A) MANUAL TILT CAB |
| 86 |
I0-91805 506-0 |
|
RING; SNAP, LOCK LEVER, CAB STAY |
1 |
1512- |
|
ALL |
MANUAL TILT CAB; ID=6 |
| 12 |
I8-98001 520-0 |
|
BAR, TORSION, UPR |
1 |
1512- |
|
ALL |
MANUAL TILT CAB |
| 141 |
I8-98062 280-0 |
|
PIN; SNAP, CAB LOCK ROD |
1 |
1704- |
|
ALL |
(A) MANUAL TILT CAB; L=32.6 |
| 335 |
I0-91610 512-0 |
|
WASHER; CAB LOCK ROD |
5 |
1512- |
|
ALL |
(B) MANUAL TILT CAB; ID=12.5 OD=22 |
| 138 |
I0-28650 820-0 |
|
BOLT, CAB LOCK CONT UNIT |
3 |
1512- |
|
ALL |
MANUAL TILT CAB, M8X20 |
| 87 |
I0-81123 020-0 |
|
PIN, SPLIT, CAB STAY PIN |
1 |
1512- |
|
ALL |
MANUAL TILT CAB, OD=2.8 L=20 |
| 149 |
I8-98067 938-0 |
|
HANDEL, TILT |
1 |
1512- |
|
ALL |
MANUAL TILT CAB |
| 150 |
I0-28650 825-0 |
|
BOLT, TILT HANDEL |
1 |
1512- |
|
ALL |
MANUAL TILT CAB, M8X25 |
| 139 |
I8-97826 129-0 |
|
ROD, CAB LOCK, LEVER TO HOOK |
1 |
2107- |
|
ALL |
(A) MANUAL TILT CAB |
| 102 |
I0-91610 612-0 |
|
WASHER, PL, CAB STAY |
1 |
1512- |
|
ALL |
MANUAL TILT CAB, ID=12.5 OD=26 |
| 142 |
I8-97410 272-0 |
|
ROD; HOOK TO HOOK |
1 |
1512- |
|
ALL |
MANUAL TILT CAB |
| 335 |
I8-94242 854-0 |
|
WASHER; CAB LOCK ROD |
1 |
1512- |
|
ALL |
(A) MANUAL TILT CAB; ID=8.4 OD=14 |
| 133 |
I8-97410 270-3 |
|
LOCK ASM; CAB |
1 |
1807- |
L |
NMR81 |
(B) |
| 146 |
I8-98197 473-0 |
|
BRACKET ASM, CAB STAY UPR |
1 |
1512- |
|
ALL |
MANUAL TILT CAB |
| 85 |
I8-94331 481-0 |
|
LEVER; LOCK, CAB STAY |
1 |
1512- |
|
ALL |
MANUAL TILT CAB |
| 335 |
I0-91610 512-0 |
|
WASHER, CAB LOCK ROD |
5 |
1512- |
|
ALL |
(B) MANUAL TILT CAB, ID=12.5 OD=22 |
| 145 |
I8-98051 939-0 |
|
BOLT; CAB RR MTG BRKT |
12 |
1512- |
|
NMR71 |
EXC. MANUAL TILT CAB; M8X24.5 |
| 99 |
I0-91180 110-0 |
|
NUT, CAB STAY |
2 |
1512- |
|
ALL |
MANUAL TILT CAB, M10 |
| 139 |
I8-98128 201-0 |
|
ROD, CAB LOCK, LEVER TO HOOK |
1 |
1512- |
|
ALL |
(B) MANUAL TILT CAB |
| 83 |
I8-98122 493-0 |
|
PIN, JOINT, CAB STAY |
1 |
1512- |
|
ALL |
MANUAL TILT CAB |
| 38 |
I8-98039 988-0 |
|
NUT, LK |
1 |
1512- |
|
ALL |
MANUAL TILT CAB, M14 |
| 324 |
I8-98004 319-1 |
|
BOLT; ADJUST |
1 |
1512- |
|
ALL |
MANUAL TILT CAB; M14X55 |
| 105 |
I0-28651 030-0 |
|
BOLT; CAB STAY |
2 |
1512- |
|
ALL |
MANUAL TILT CAB; M10X30 |
| 150 |
I0-28650 825-0 |
|
BOLT; TILT HANDEL |
1 |
1512- |
|
ALL |
MANUAL TILT CAB; M8X25 |
| 85 |
I8-94331 481-0 |
|
LEVER, LOCK, CAB STAY |
1 |
1512- |
|
ALL |
MANUAL TILT CAB |
| 31 |
I8-98060 839-0 |
|
WASHER, WAVE |
1 |
1512- |
|
ALL |
MANUAL TILT CAB, ID=13 OD=22 |
| 92 |
I8-97385 586-1 |
|
BRACKET, CAB STAY TO FRAME |
1 |
1512- |
|
ALL |
MANUAL TILT CAB |
| 3 |
I8-97359 033-0 |
|
BOLT; LEVER |
6 |
1512- |
|
ALL |
M12X37 |
| 104 |
I0-28660 820-0 |
|
BOLT, CAB STAY BRKT |
3 |
1512- |
|
ALL |
MANUAL TILT CAB, M8X20 |
| 136 |
I0-28650 820-0 |
|
BOLT, CAB LK |
4 |
1512- |
|
ALL |
MANUAL TILT CAB, M8X20 |
| 144 |
I8-97853 066-5 |
|
BRACKET ASM; CAB RR MTG |
2 |
1512- |
|
NLR |
EXC. MANUAL TILT CAB |
| 95 |
I8-94160 167-2 |
|
SPRING, RETRUN, CAB STAY |
1 |
1512- |
|
ALL |
MANUAL TILT CAB |
| 324 |
I8-98004 319-1 |
|
BOLT, ADJUST |
1 |
1512- |
|
ALL |
MANUAL TILT CAB, M14X55 |
| 38 |
I8-98039 988-0 |
|
NUT; LK |
1 |
1512- |
|
ALL |
MANUAL TILT CAB; M14 |
| 99 |
I0-91180 110-0 |
|
NUT; CAB STAY |
2 |
1512- |
|
ALL |
MANUAL TILT CAB; M10 |
| 335 |
I8-94242 854-0 |
|
WASHER, CAB LOCK ROD |
1 |
1512- |
|
ALL |
(A) MANUAL TILT CAB, ID=8.4 OD=14 |
| 96 |
I8-98123 513-0 |
|
PIN; JOINT |
1 |
1512- |
|
ALL |
MANUAL TILT CAB |
| 139 |
I8-97826 129-0 |
|
ROD; CAB LOCK, LEVER TO HOOK |
1 |
2107- |
|
ALL |
(A) MANUAL TILT CAB |
| 149 |
I8-98067 938-0 |
|
HANDEL; TILT |
1 |
1512- |
|
ALL |
MANUAL TILT CAB |
| 148 |
I8-97410 736-0 |
|
JOINY; HAW, HOOK TO HOOK |
1 |
1512- |
|
ALL |
MANUAL TILT CAB |
| 31 |
I8-98060 839-0 |
|
WASHER; WAVE |
1 |
1512- |
|
ALL |
MANUAL TILT CAB; ID=13 OD=22 |
| 145 |
I8-98051 939-0 |
|
BOLT; CAB RR MTG BRKT |
12 |
1512- |
|
NLR |
EXC. MANUAL TILT CAB; M8X24.5 |
| 137 |
I8-97411 004-3 |
|
CONTROL UNIT; CAB LOCK |
1 |
1512- |
|
ALL |
MANUAL TILT CAB |
| 141 |
I8-98039 045-1 |
|
PIN; SNAP, CAB LOCK ROD |
1 |
1512- |
|
ALL |
(B) MANUAL TILT CAB; L=25.3 |